电脑桌面
添加蜗牛文库到电脑桌面
安装后可以在桌面快捷访问

[www.staffempire.com]-GB 12237-1989 通用阀门 法兰和对焊连接钢制球阀.pdfVIP免费

[www.staffempire.com]-GB 12237-1989 通用阀门 法兰和对焊连接钢制球阀.pdf_第1页
[www.staffempire.com]-GB 12237-1989 通用阀门 法兰和对焊连接钢制球阀.pdf_第2页
[www.staffempire.com]-GB 12237-1989 通用阀门 法兰和对焊连接钢制球阀.pdf_第3页
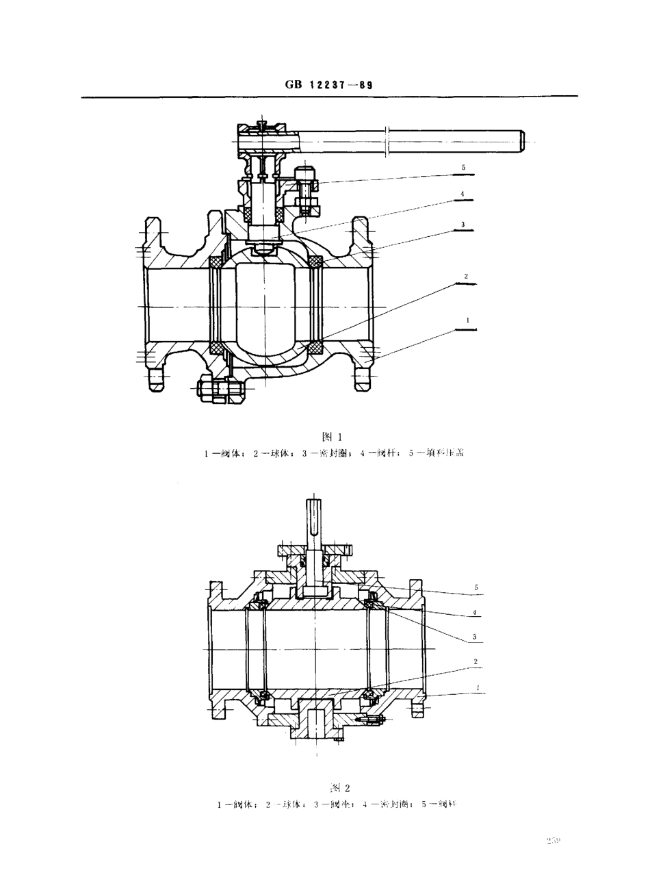
中华人民共和国国家标准通用阀门法兰和对焊连接钢制球阀GB12237一89Generalpurposeindustrialvalves一Flangedandbutt-weldendsteelballvalves1主题内容与适用范围本标准规定了法兰和对焊连接钢制球阀的结构型式、技术要求、试验方法Ifo本标准适用于公称压力PNIA一10MPa,公称通径DN'10一500mm的L业管道和设备用的球例2引用标准GB150钢制压力容器GB9113.1一9113.26整体钢制管法吮GB9131钢制管法兰服力温度等级GB12220通用阀门标志GB12221法“连接余属阀门结构民度GB12223部分回转阀门驱动装段的连接GB12224钢制阀门一般要求GB12228通用阀门碳素钢锻件技术条件GB12229通用阀门碳素钢铸件技术条件GB1223。通用阀门奥氏体钢铸件技术条件GB.T12252通用阀门供货要求ZBJ16006阀门的试验与检验3术语3.1防静电结构保证阀体、球体和阀杆之IYi7能导电的结构。3.2耐火结构一种在软密封被烧坏时仍能保持密封的结构。4结构型式球阀的结构ilq式为法片和对焊连接的浮动式或固定式。具结构}(q式和主要零件的名称如圈1、图2所不国家技术监督局1990一01一04批准19901201实施GB!2237一89一图1-阀体;2一球体;3一密封圈,a一阀杆;5一填称}卜再一阀体;2球(本4一;+-;H圈告5一侧0GB12237一895.1技术要求阀体飞公1阀体可以是整体式或组合式,组合式阀体其连接处强变不得低于法兰连接或悍接连接的焊缝5.1.2阀体最小壁厚按CB12224的规定5.13法兰连接球阀的结构长度按GB表l12221的规定。对焊连接球阀的结构长度按表1的规定对焊连接球阀的结构长度t刀门门公称压力,MFa1.625一4.0厂6.41n结构长度知中长掀2长万尺寸偏差’}尺士偏差尺寸偏养尺、于偏差尺.士偏弟L尺“}姗5O216土2’之3()土2艺16土2123。和212,2丁一一一)}兰3}一{}一){{I{全」l{}l{一65}l{2731士3{{{129{)一}「241}}}}290土3一33(131(1名O3103101283356350生00480J00{35(j305350巷3212540038140()i15O8115(j403少345了{{4,0{55‘,’403521士4600{41921)〔1419600一;一一6()。一457730559250457730ll了87一30(}502上绪{6358504一土5厂502士4850{一5一一83吕{}35()5了2762762——一—)「980980400610838十51了00士6838}一一止苏{l0()士6注:1,尸刀1.6灿系列的结构长度仅适用r缩径球侧。才长系列结构长度为优先选用的尺寸。5.音.刁法兰应与阀体整体铸成或锻成,也可采用焊接而成片J钾接连接的法一应是对焊式,钾曰亚经9川门GB12237一89有关部门考试合格,焊接要求应符合GB150的规定。5.1.5法铸连接的尺寸和密封面型式...

1、当您付费下载文档后,您只拥有了使用权限,并不意味着购买了版权,文档只能用于自身使用,不得用于其他商业用途(如 [转卖]进行直接盈利或[编辑后售卖]进行间接盈利)。
2、本站所有内容均由合作方或网友上传,本站不对文档的完整性、权威性及其观点立场正确性做任何保证或承诺!文档内容仅供研究参考,付费前请自行鉴别。
3、如文档内容存在违规,或者侵犯商业秘密、侵犯著作权等,请点击“违规举报”。

碎片内容

蜗牛文库的最新文档

二年级数学下册其中检测卷二年级数学下册其中检测卷附答案#期中测试卷.pdf
10.00金币
0下载
二年级数学下册期末质检卷(苏教版)二年级数学下册期末质检卷(苏教版)#期末复习 #期末测试卷 #二年级数学 #二年级数学下册#关注我持续更新小学知识.pdf
10.00金币
0下载
二年级数学下册期末混合运算专项练习二年级数学下册期末混合运算专项练习#二年级#二年级数学下册#关注我持续更新小学知识 #知识分享 #家长收藏孩子受益.pdf
10.00金币
1下载
二年级数学下册年月日三类周期问题解题方法二年级数学下册年月日三类周期问题解题方法#二年级#二年级数学下册#知识分享 #关注我持续更新小学知识 #家长收藏孩子受益.pdf
10.00金币
0下载
二年级数学下册解决问题专项训练二年级数学下册解决问题专项训练#专项训练#解决问题#二年级#二年级数学下册#知识分享.pdf
10.00金币
1下载
二年级数学下册还原问题二年级数学下册还原问题#二年级#二年级数学#关注我持续更新小学知识 #知识分享 #家长收藏孩子受益.pdf
10.00金币
1下载
二年级数学下册第六单元考试卷家长打印出来给孩子测试测试争取拿到高分!#小学二年级试卷分享 #二年级第六单考试数学 #第六单考试#二年级数学下册.pdf
10.00金币
0下载
二年级数学下册必背顺口溜口诀汇总二年级数学下册必背顺口溜口诀汇总#二年级#二年级数学下册 #知识分享 #家长收藏孩子受益 #关注我持续更新小学知识.pdf
10.00金币
0下载
二年级数学下册《重点难点思维题》两大问题解决技巧和方法巧算星期几解决周期问题还原问题强化思维训练老师精心整理家长可以打印出来给孩子练习#家长收藏孩子受益 #学霸秘籍 #思维训练 #二年级 #知识点总结.pdf
10.00金币
0下载
二年级数学下册 必背公式大全寒假提前背一背开学更轻松#二年级 #二年级数学 #二年级数学下册 #寒假充电计划 #公式.pdf
10.00金币
0下载
蜗牛文库+ 关注
实名认证
内容提供者

提供各种专业文档内容

确认删除?
QQ
  • QQ点击这里给我发消息
微信客服
  • 微信客服
回到顶部