电脑桌面
添加蜗牛文库到电脑桌面
安装后可以在桌面快捷访问

[www.staffempire.com]-JB-T 6900-1993排污阀.pdfVIP免费

[www.staffempire.com]-JB-T 6900-1993排污阀.pdf_第1页
[www.staffempire.com]-JB-T 6900-1993排污阀.pdf_第2页
[www.staffempire.com]-JB-T 6900-1993排污阀.pdf_第3页
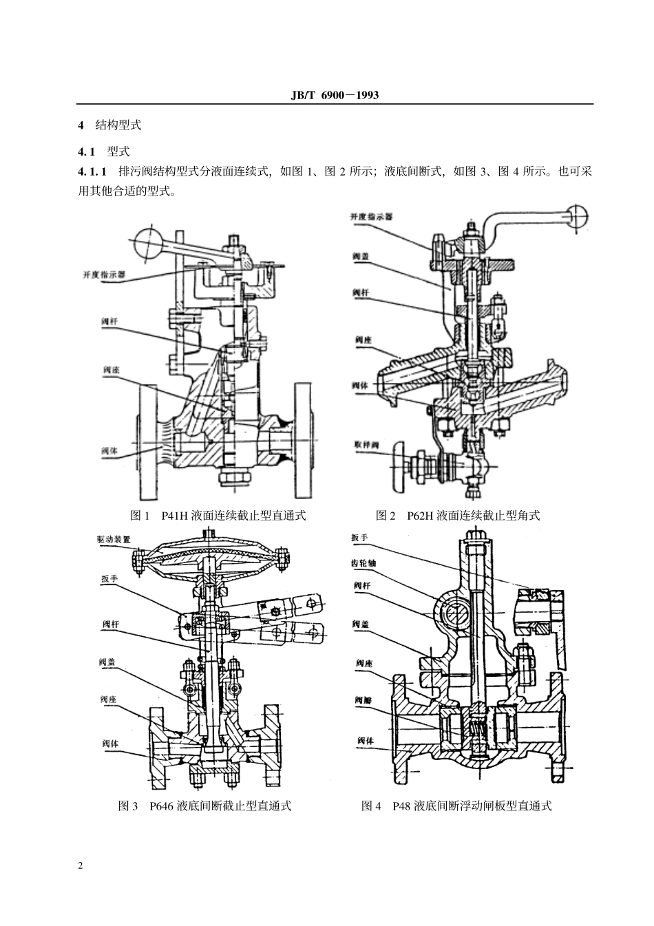
J16JB/T6900-1993排污阀1993-07-13发布1994-07-01实施中华人民共和国机械工业部发布11主题内容与适用范围本标准规定了排污阀的术语、结构型式、技术要求、试验方法和检验规则、标志和供货。本标准适用于锅炉、压力容器等设备用的公称压力pN≤32.0MPa,公称通径DN≤80mm的钢制、铁制排污阀。2引用标准GB150钢制压力容器GB1047管道与管路附件的公称通径GB1048管道元件公称压力GB1239.2冷卷圆柱螺旋压缩弹簧技术条件GB1972蝶形弹簧GB4216.1~4216.5灰铸铁管法兰及垫片尺寸GB6004试验筛用金属丝编织方孔网GB9113钢制整体管法兰GB9131钢制管法兰压力–温度等级GB12220通用阀门标志GB12224钢制阀门一般要求GB12226通用阀门灰铸铁件技术条件GB12227通用阀门球墨铸铁件技术条件GB12228通用阀门碳素钢锻件技术条件GB12229通用阀门碳素钢铸件技术条件GB/T12252通用阀门供货要求GB/T13927工业用阀门的压力试验JB308阀门型号编制方法JB/T5300通用阀门材料JB/Z243闸阀静压寿命试验规程JB/Z244截止阀静压寿命试验规程3术语3.1排污阀用于锅炉、压力容器等设备排污的阀门。3.2液面连续排污阀安装于锅炉、压力容器等液面位置,用于连续排除悬浮在液面的杂质的阀门。3.3液底间断排污阀安装于锅炉、压力容器等液底位置,用于间断排除沉积在液底的杂质的阀门。机械工业部1993-07-13批准中华人民共和国机械行业标准排污阀JB/T6900-19931994-07-01实施JB/T6900-199324结构型式4.1型式4.1.1排污阀结构型式分液面连续式,如图1、图2所示;液底间断式,如图3、图4所示。也可采用其他合适的型式。图1P41H液面连续截止型直通式图2P62H液面连续截止型角式图3P646液底间断截止型直通式图4P48液底间断浮动闸板型直通式JB/T6900-199334.1.2图1至图4型式均适用于钢制排污阀。铁制排污阀只适用图4的型式。4.2型号编制4.2.1排污阀产品类型代号用大写拼音字母“P”表示。4.2.2排污阀结构型式代号按表1的规定。表1排污阀结构型式代号截止型直通式1液面连续截止型角式2截止型直流式5截止型直通式6截止型角式7液底间断浮动闸板型直通式84.2.3排污阀其余单元的代号,按JB308的规定。4.2.4排污阀型号编制由下列单元组成。5技术要求5.1基本参数5.1.1排污阀公称通径按GB1047的规定。5.1.2排污阀公称压力按GB1048的规定。5.1.3钢制排污阀的压力–温度等级按GB9131的规定。5.1.4球墨铸铁制排污阀的压力–温度等级按表2的规定。表2MPa使用温度℃–30~120150200250300350公称压力pN最高工作压力...

1、当您付费下载文档后,您只拥有了使用权限,并不意味着购买了版权,文档只能用于自身使用,不得用于其他商业用途(如 [转卖]进行直接盈利或[编辑后售卖]进行间接盈利)。
2、本站所有内容均由合作方或网友上传,本站不对文档的完整性、权威性及其观点立场正确性做任何保证或承诺!文档内容仅供研究参考,付费前请自行鉴别。
3、如文档内容存在违规,或者侵犯商业秘密、侵犯著作权等,请点击“违规举报”。

碎片内容

蜗牛文库的最新文档

二年级数学下册其中检测卷二年级数学下册其中检测卷附答案#期中测试卷.pdf
10.00金币
0下载
二年级数学下册期末质检卷(苏教版)二年级数学下册期末质检卷(苏教版)#期末复习 #期末测试卷 #二年级数学 #二年级数学下册#关注我持续更新小学知识.pdf
10.00金币
0下载
二年级数学下册期末混合运算专项练习二年级数学下册期末混合运算专项练习#二年级#二年级数学下册#关注我持续更新小学知识 #知识分享 #家长收藏孩子受益.pdf
10.00金币
1下载
二年级数学下册年月日三类周期问题解题方法二年级数学下册年月日三类周期问题解题方法#二年级#二年级数学下册#知识分享 #关注我持续更新小学知识 #家长收藏孩子受益.pdf
10.00金币
0下载
二年级数学下册解决问题专项训练二年级数学下册解决问题专项训练#专项训练#解决问题#二年级#二年级数学下册#知识分享.pdf
10.00金币
1下载
二年级数学下册还原问题二年级数学下册还原问题#二年级#二年级数学#关注我持续更新小学知识 #知识分享 #家长收藏孩子受益.pdf
10.00金币
1下载
二年级数学下册第六单元考试卷家长打印出来给孩子测试测试争取拿到高分!#小学二年级试卷分享 #二年级第六单考试数学 #第六单考试#二年级数学下册.pdf
10.00金币
0下载
二年级数学下册必背顺口溜口诀汇总二年级数学下册必背顺口溜口诀汇总#二年级#二年级数学下册 #知识分享 #家长收藏孩子受益 #关注我持续更新小学知识.pdf
10.00金币
0下载
二年级数学下册《重点难点思维题》两大问题解决技巧和方法巧算星期几解决周期问题还原问题强化思维训练老师精心整理家长可以打印出来给孩子练习#家长收藏孩子受益 #学霸秘籍 #思维训练 #二年级 #知识点总结.pdf
10.00金币
0下载
二年级数学下册 必背公式大全寒假提前背一背开学更轻松#二年级 #二年级数学 #二年级数学下册 #寒假充电计划 #公式.pdf
10.00金币
0下载
蜗牛文库+ 关注
实名认证
内容提供者

提供各种专业文档内容

确认删除?
QQ
  • QQ点击这里给我发消息
微信客服
  • 微信客服
回到顶部