电脑桌面
添加蜗牛文库到电脑桌面
安装后可以在桌面快捷访问

第十七章:集成运算放大电路.pdfVIP免费

第十七章:集成运算放大电路.pdf_第1页
第十七章:集成运算放大电路.pdf_第2页
第十七章:集成运算放大电路.pdf_第3页
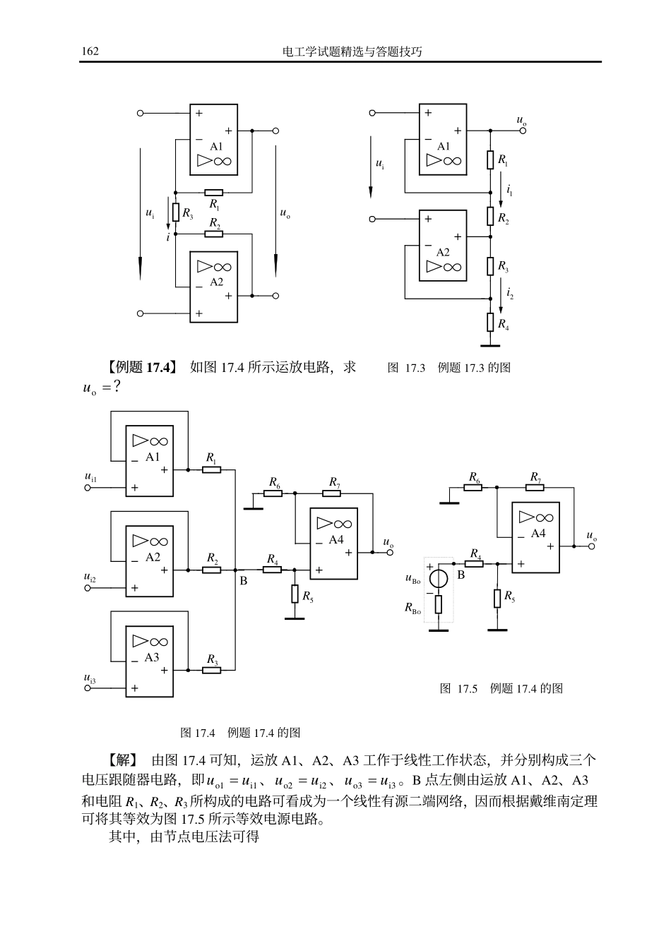
161一、例题精解【例题17.1】如图17.1所示运算放大器电路中,已知,u,,u,,,求u1Vi1=uΩk1=2Vi2=o?=3Vi3=u4Vi4=Ωk2==21RR==F43RRR∞1Ri4u2Ri3ui2ui1u3R4RFRou图17.1例题17.1的图【解】如图所示,同相输入端电压+u可由节点电压法得出V5.3243211i4i3434i43i3=+=+=++=+uuRRRuRuu所以根据叠加原理可得V5.55.3111221121=//+1++21Fi22Fi11Fo=×++×−×−−−=uRRRuRRuRRu【例题17.2】如图17.2所示的运放电路,已知,,,求0.5Vi=uΩk10==21RRΩk2=3R?=ou【解】由理想运放虚短的特点可知,u,则;又由理想运放虚断的特点可知i,i,则中流过同一电流,若设此电流为i,则−+=11uu0=2+−+=22u02=−ii21R3uuuu=−=−−321RR、、11=−+i=R3i33R/=/RuRii=()()()V5.52101025.0=3213i321o=++×=++=++RRRRuRRRiu【例题17.3】如图17.3所示的运算放大器电路,已知u,,,求2Vi=Ωk1==21RRΩk1==43RR?=ou【解】解法一:由理想运放虚断的特点可知,,,则中流过同一电流i,R中流过同一电流i。又由理想运放虚短的特点可知,,,故u。011==−+ii232Ri022==−+ii21RR、+=11uu143R、21u−−−−−+=22uu21iRiu+==因而()()()V422=22=i3211432211o=×=+=+++uRiRiRRiRRiu解法二:假设u、u,则由图示电路可知。i11u=+i22u=+i2i121iuuuuu−=−=++运放A2可视为以为输入信号的同相比例放大器,其输出电压i22uu=+i243243o2)/1()/1(uRRuRRu+=+=+运放A1的输出电压为u和共同作用的结果,由叠加原理可得o1ouu=1+o2u4V222)(21)(11)(1)(1)/1()/()/1()/()/1(ii2i1i2i1i24321i121o221121o1o=×==−=+−++=+−++=−++==+uuuuuuRRRRuRRuRRuRRuu电工学试题精选与答题技巧162∞∞A1A24R1R2R3Riuou1i2i图17.3例题17.3的图∞∞A2A1iiuou1R3R2R【例题17.4】如图17.4所示运放电路,求?=ou∞∞∞A3A2A1∞A4B4R3R2R1R5R7R6Ri1ui2ui3uou图17.4例题17.4的图∞A4B7R4R5R6RouBouBOR图17.5例题17.4的图【解】由图17.4可知,运放A1、A2、A3工作于线性工作状态,并分别构成三个电压跟随器电路,即u、u、u。B点左侧由运放A1、A2、A3和电阻Ri1o1u=i2o2u=i3o3u=1、R2、R3所构成的电路可看成为一个线性有源二端网络,因而根据戴维南定理可将其等效为图17.5所示等效电源电路。其中,由节点电压法可得第十七章集成运算放大器及应用1633213i32i21i1Bo111RRRRuRuRu++++=u321BoR‖R‖RR=由图17.9电路可知,A4构成一个同相比例放大电路,即Bo54Bo567467o11uRRRRRRuRR++...

1、当您付费下载文档后,您只拥有了使用权限,并不意味着购买了版权,文档只能用于自身使用,不得用于其他商业用途(如 [转卖]进行直接盈利或[编辑后售卖]进行间接盈利)。
2、本站所有内容均由合作方或网友上传,本站不对文档的完整性、权威性及其观点立场正确性做任何保证或承诺!文档内容仅供研究参考,付费前请自行鉴别。
3、如文档内容存在违规,或者侵犯商业秘密、侵犯著作权等,请点击“违规举报”。

碎片内容

蜗牛文库的最新文档

二年级数学下册其中检测卷二年级数学下册其中检测卷附答案#期中测试卷.pdf
10.00金币
0下载
二年级数学下册期末质检卷(苏教版)二年级数学下册期末质检卷(苏教版)#期末复习 #期末测试卷 #二年级数学 #二年级数学下册#关注我持续更新小学知识.pdf
10.00金币
0下载
二年级数学下册期末混合运算专项练习二年级数学下册期末混合运算专项练习#二年级#二年级数学下册#关注我持续更新小学知识 #知识分享 #家长收藏孩子受益.pdf
10.00金币
1下载
二年级数学下册年月日三类周期问题解题方法二年级数学下册年月日三类周期问题解题方法#二年级#二年级数学下册#知识分享 #关注我持续更新小学知识 #家长收藏孩子受益.pdf
10.00金币
0下载
二年级数学下册解决问题专项训练二年级数学下册解决问题专项训练#专项训练#解决问题#二年级#二年级数学下册#知识分享.pdf
10.00金币
1下载
二年级数学下册还原问题二年级数学下册还原问题#二年级#二年级数学#关注我持续更新小学知识 #知识分享 #家长收藏孩子受益.pdf
10.00金币
1下载
二年级数学下册第六单元考试卷家长打印出来给孩子测试测试争取拿到高分!#小学二年级试卷分享 #二年级第六单考试数学 #第六单考试#二年级数学下册.pdf
10.00金币
0下载
二年级数学下册必背顺口溜口诀汇总二年级数学下册必背顺口溜口诀汇总#二年级#二年级数学下册 #知识分享 #家长收藏孩子受益 #关注我持续更新小学知识.pdf
10.00金币
0下载
二年级数学下册《重点难点思维题》两大问题解决技巧和方法巧算星期几解决周期问题还原问题强化思维训练老师精心整理家长可以打印出来给孩子练习#家长收藏孩子受益 #学霸秘籍 #思维训练 #二年级 #知识点总结.pdf
10.00金币
0下载
二年级数学下册 必背公式大全寒假提前背一背开学更轻松#二年级 #二年级数学 #二年级数学下册 #寒假充电计划 #公式.pdf
10.00金币
0下载
蜗牛文库+ 关注
实名认证
内容提供者

提供各种专业文档内容

确认删除?
QQ
  • QQ点击这里给我发消息
微信客服
  • 微信客服
回到顶部