电脑桌面
添加蜗牛文库到电脑桌面
安装后可以在桌面快捷访问

02-【案例】-采购管理制度.docVIP免费

02-【案例】-采购管理制度.doc_第1页
02-【案例】-采购管理制度.doc_第2页
02-【案例】-采购管理制度.doc_第3页
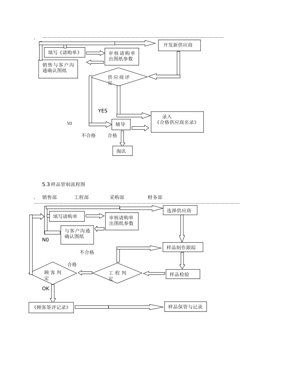
公司采购内控管理制度1、目的为加强采购计划管理,规范采购工作,保障公司生产经营活动所需物品的正常持续供应,降低采购成本,提高公司采购效率、明确岗位职责、有效降低采购成本,满足工公司对优质资源的需求,进一步规范物资采购流程,加强与各部门间的配合,特制定本制度。2、适用范围适用于本公司生产用设备、原材料、辅助材料、生产用耗材等公司生产性物资采购过程,包括出口物资的采购。3、职责3.1总经理负责采购管理制度的审批。3.2采购部负责合格供方的开发和管理,合格供方物资供应能力应涵盖公司所有生产性物资需求;对供方在制过程和生产进度控制;对供方库存的核对与控制;与供方的协调与沟通。3.2工程部和销售部负责提供详细的物资的图纸或参数、材质、规格、工艺等属性。必要时由工程部出图,并由销售部门经客户确认后以请购单的形式提报给采购部。3.3销售部负责对物资样品发出后的跟踪和客户反馈的记录。3.4财务部负责对采购物资预付款和货款的结算和给付。4、采购岗位职责4.1寻找物料供应来源,并分析相关市场。4.2与供货商洽谈,并安排工厂参观、建立供货商之数据。4.3要求报价与进行议价并做出比价分析。4.4获取所需之物料。4.5查证购进物料之数量与质量。4.6建立采购业务进行顺遂所需要之数据和合格供应商名录。4.7了解市场趋势,搜集市场供给与需求价格等适时数据加以成本分析。4.8呆料与废料之预防与处理。5、物资采购工作程序5.1采购工作流程图.销售部工程部采购部财务部.—————————————————————————————————————注:工程部门提报的请购单,则由工程部直接提交采购部进入采购流程。OK不合格合格5.2新供应商开发评定工作流程图如请购的项目在《合格供应商名录》中没有找到合适的供方,需开发新供应商。新供应商开发评定工作流程如下图:..销售部工程部采购部财务部填写《请购单》审核请购单出图纸参数选择供应商询价比价发出订单制程跟踪与反馈供应商交货产品质量检验报关出货结算货款库存的核对与处理审核应付货款登录《合格供应商名录》拍照存档备查销售与客户沟通确认图纸.—————————————————————————————————————YESN0不合格合格5.3样品管制流程图.销售部工程部采购部财务部——————————————————————————————————————————N0不合格合格OK填写《请购单》审核请购单出图纸参数开发新供应商供应商评定辅导录...

1、当您付费下载文档后,您只拥有了使用权限,并不意味着购买了版权,文档只能用于自身使用,不得用于其他商业用途(如 [转卖]进行直接盈利或[编辑后售卖]进行间接盈利)。
2、本站所有内容均由合作方或网友上传,本站不对文档的完整性、权威性及其观点立场正确性做任何保证或承诺!文档内容仅供研究参考,付费前请自行鉴别。
3、如文档内容存在违规,或者侵犯商业秘密、侵犯著作权等,请点击“违规举报”。

碎片内容

蜗牛文库的最新文档

二年级数学下册其中检测卷二年级数学下册其中检测卷附答案#期中测试卷.pdf
10.00金币
0下载
二年级数学下册期末质检卷(苏教版)二年级数学下册期末质检卷(苏教版)#期末复习 #期末测试卷 #二年级数学 #二年级数学下册#关注我持续更新小学知识.pdf
10.00金币
0下载
二年级数学下册期末混合运算专项练习二年级数学下册期末混合运算专项练习#二年级#二年级数学下册#关注我持续更新小学知识 #知识分享 #家长收藏孩子受益.pdf
10.00金币
1下载
二年级数学下册年月日三类周期问题解题方法二年级数学下册年月日三类周期问题解题方法#二年级#二年级数学下册#知识分享 #关注我持续更新小学知识 #家长收藏孩子受益.pdf
10.00金币
0下载
二年级数学下册解决问题专项训练二年级数学下册解决问题专项训练#专项训练#解决问题#二年级#二年级数学下册#知识分享.pdf
10.00金币
1下载
二年级数学下册还原问题二年级数学下册还原问题#二年级#二年级数学#关注我持续更新小学知识 #知识分享 #家长收藏孩子受益.pdf
10.00金币
1下载
二年级数学下册第六单元考试卷家长打印出来给孩子测试测试争取拿到高分!#小学二年级试卷分享 #二年级第六单考试数学 #第六单考试#二年级数学下册.pdf
10.00金币
0下载
二年级数学下册必背顺口溜口诀汇总二年级数学下册必背顺口溜口诀汇总#二年级#二年级数学下册 #知识分享 #家长收藏孩子受益 #关注我持续更新小学知识.pdf
10.00金币
0下载
二年级数学下册《重点难点思维题》两大问题解决技巧和方法巧算星期几解决周期问题还原问题强化思维训练老师精心整理家长可以打印出来给孩子练习#家长收藏孩子受益 #学霸秘籍 #思维训练 #二年级 #知识点总结.pdf
10.00金币
0下载
二年级数学下册 必背公式大全寒假提前背一背开学更轻松#二年级 #二年级数学 #二年级数学下册 #寒假充电计划 #公式.pdf
10.00金币
0下载
蜗牛文库+ 关注
实名认证
内容提供者

提供各种专业文档内容

确认删除?
QQ
  • QQ点击这里给我发消息
微信客服
  • 微信客服
回到顶部