电脑桌面
添加蜗牛文库到电脑桌面
安装后可以在桌面快捷访问

基于ProE的电动救护车造型设计开题报告.docVIP免费

基于ProE的电动救护车造型设计开题报告.doc_第1页
基于ProE的电动救护车造型设计开题报告.doc_第2页
基于ProE的电动救护车造型设计开题报告.doc_第3页
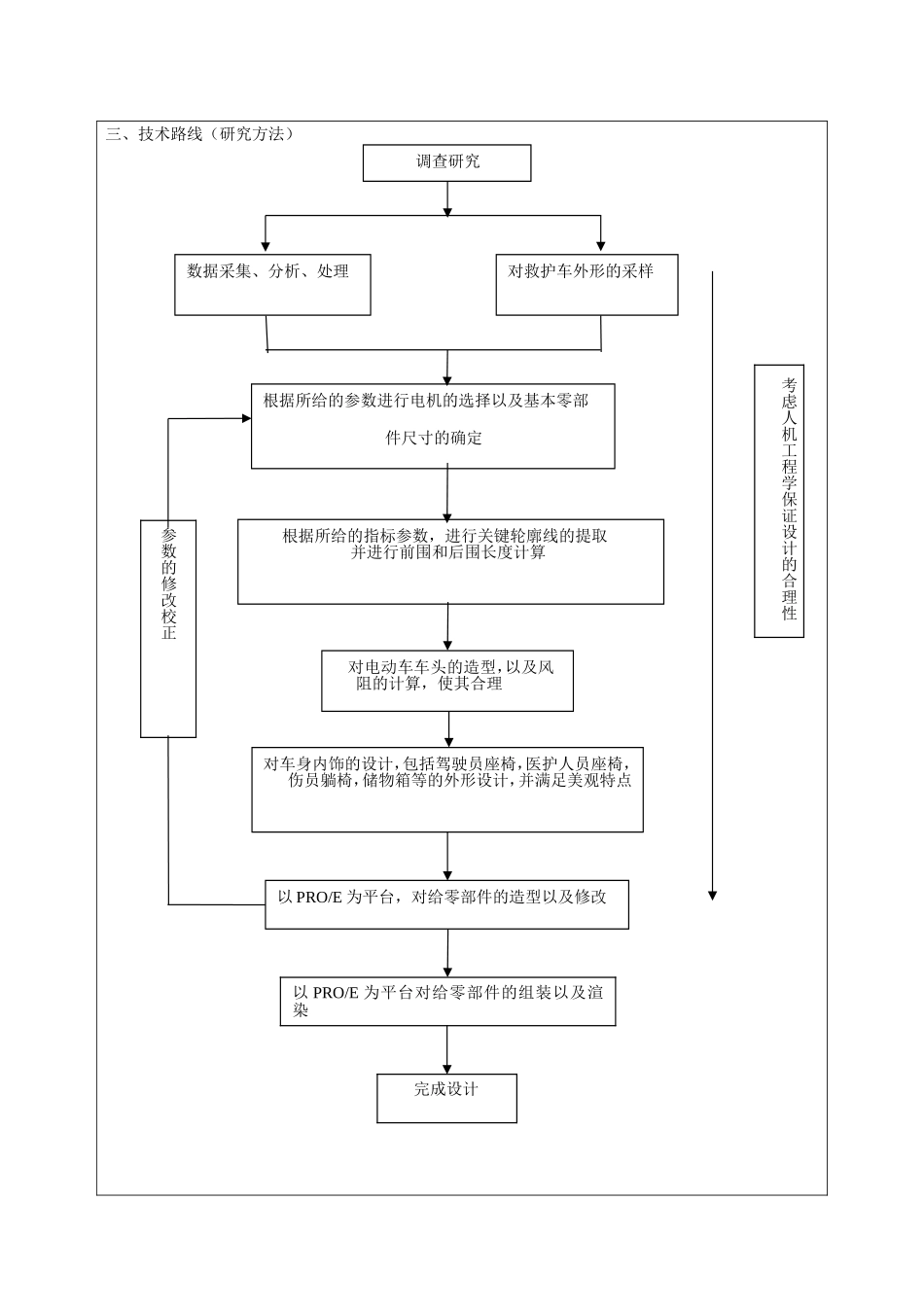
毕业设计(论文)开题报告学生姓名施奇系部汽车工程系专业、班级车辆工程B05-18指导教师姓名杨兆职称助教从事专业车辆工程是否外聘□是■否题目名称基于Pro/E的电动救护车造型设计一、课题研究现状、选题目的和意义研究现状随着时代的发展和体育事业的腾达,体育竞赛备受关注,与此同时体育竞赛的辅助设施的一种——救护车愈加扮演着更重要的角色。目前很多汽车厂家都已经生产电动救护车,比如我国的东风汽车,广州陆虎,还有德国奔驰,日本的尼桑等厂家都已经投入生产,但大多的电动救护车都是一些规模较小的电动车厂家生产,多集中在沿海地区,如广州的朗晴电动车有限公司等,可是优秀的救护车造型仍属于凤毛麟角,其中大多都是国外企业。选题目的在现代体育比赛中,竞赛的场地通常比较大,当运动员意外受伤时,需要紧急救护,仅靠人力担架会错过最佳的救护时间,这就使场地救护车的必要性凸显出来。救护车能对受伤运动员进行紧急处理并运送到制定地点。由于在比赛现场,不易使用燃油发动车辆,以免造成排放和噪声污染,影响赛场的正常环境,同时车辆的造型设计也直接关系到救护的使用方便和舒适及救护合理等方面,同时一款别致的救护车也会为赛场增添一道亮丽的风景。需要全套设计请联系QQ1537693694研究意义奥运会、大学生冬季运动会等赛事在08、09年召开,在不久的将来更多的世界性体育赛事在我国召开,电动救护车的设计具有良好的社会意义。打造我国自己的救护车有良好的前景和深远的意义。我过有悠久的历史和文化,同时我过的科技事业也在突飞猛进,缩短和发达国家的距离,汽车行业发展成效尤为显著,2008年我国汽车销售量世界第一,但大多都是在国内销售。电动救护车,采用环保能源,体积小,灵活性高,有很好的发展前景,我们新一代的汽车人,力求让我们的汽车登上世界汽车的大舞台,并夺取一席之地。二、设计(论文)的基本内容、拟解决的主要问题SY-025-BY-2基本内容根据给定的参数进行电动救护车造型设计,考虑汽车构造、汽车设计、汽车理论及人机工程学相关知识,设计该电动救护车的整体造型。1、本设计以某电动救护车车身为参照原型,建立一个参数化的系统。从这款车的车身提取关键轮廓线,通过轮廓线得到车身的前围和后围再装配到一起从而得到总成的电动救护车车身;2、对电动救护车车头的造型,并保证其满足风阻要求和美观的特点;3、对车内部的造型设计,包括护理人员座椅,患者用床,一节储物箱等的外形设计;4、联系医学救护的...

1、当您付费下载文档后,您只拥有了使用权限,并不意味着购买了版权,文档只能用于自身使用,不得用于其他商业用途(如 [转卖]进行直接盈利或[编辑后售卖]进行间接盈利)。
2、本站所有内容均由合作方或网友上传,本站不对文档的完整性、权威性及其观点立场正确性做任何保证或承诺!文档内容仅供研究参考,付费前请自行鉴别。
3、如文档内容存在违规,或者侵犯商业秘密、侵犯著作权等,请点击“违规举报”。

碎片内容

蜗牛文库的最新文档

二年级数学下册其中检测卷二年级数学下册其中检测卷附答案#期中测试卷.pdf
10.00金币
0下载
二年级数学下册期末质检卷(苏教版)二年级数学下册期末质检卷(苏教版)#期末复习 #期末测试卷 #二年级数学 #二年级数学下册#关注我持续更新小学知识.pdf
10.00金币
0下载
二年级数学下册期末混合运算专项练习二年级数学下册期末混合运算专项练习#二年级#二年级数学下册#关注我持续更新小学知识 #知识分享 #家长收藏孩子受益.pdf
10.00金币
1下载
二年级数学下册年月日三类周期问题解题方法二年级数学下册年月日三类周期问题解题方法#二年级#二年级数学下册#知识分享 #关注我持续更新小学知识 #家长收藏孩子受益.pdf
10.00金币
0下载
二年级数学下册解决问题专项训练二年级数学下册解决问题专项训练#专项训练#解决问题#二年级#二年级数学下册#知识分享.pdf
10.00金币
1下载
二年级数学下册还原问题二年级数学下册还原问题#二年级#二年级数学#关注我持续更新小学知识 #知识分享 #家长收藏孩子受益.pdf
10.00金币
1下载
二年级数学下册第六单元考试卷家长打印出来给孩子测试测试争取拿到高分!#小学二年级试卷分享 #二年级第六单考试数学 #第六单考试#二年级数学下册.pdf
10.00金币
0下载
二年级数学下册必背顺口溜口诀汇总二年级数学下册必背顺口溜口诀汇总#二年级#二年级数学下册 #知识分享 #家长收藏孩子受益 #关注我持续更新小学知识.pdf
10.00金币
0下载
二年级数学下册《重点难点思维题》两大问题解决技巧和方法巧算星期几解决周期问题还原问题强化思维训练老师精心整理家长可以打印出来给孩子练习#家长收藏孩子受益 #学霸秘籍 #思维训练 #二年级 #知识点总结.pdf
10.00金币
0下载
二年级数学下册 必背公式大全寒假提前背一背开学更轻松#二年级 #二年级数学 #二年级数学下册 #寒假充电计划 #公式.pdf
10.00金币
0下载
蜗牛文库+ 关注
实名认证
内容提供者

提供各种专业文档内容

确认删除?
QQ
  • QQ点击这里给我发消息
微信客服
  • 微信客服
回到顶部