电脑桌面
添加蜗牛文库到电脑桌面
安装后可以在桌面快捷访问

02、1K412000 城市桥梁工程+1K420100 城市桥梁工程质量检查与验收(336页-506页为0620更新).docxVIP免费

02、1K412000 城市桥梁工程+1K420100 城市桥梁工程质量检查与验收(336页-506页为0620更新).docx_第1页
02、1K412000 城市桥梁工程+1K420100 城市桥梁工程质量检查与验收(336页-506页为0620更新).docx_第2页
02、1K412000 城市桥梁工程+1K420100 城市桥梁工程质量检查与验收(336页-506页为0620更新).docx_第3页
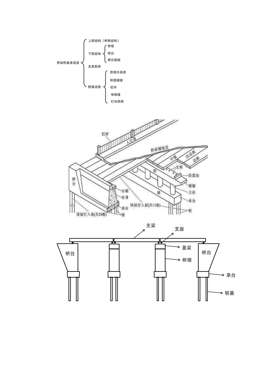
2022年一级建造师执业资格考试市政公用工程管理与实务教材精讲班1K412000城市桥梁工程桥梁工程历年分值年份2018年2019年2020年2021年单选题2分3分4分3分多选题4分6分2分2分案例题31分25分25分49分合计37分34分31分54分1K412000城市桥梁工程1K412010城市桥梁结构形式及通用施工技术1K412020城市桥梁下部结构施工1K412030城市桥梁上部结构施工1K412040管涵和箱涵施工1K412010城市桥梁结构形式及通用施工技术1K412011城市桥梁结构组成与类型1K412012模板、支架和拱架的设计、制作、安装与拆除1K412013钢筋施工技术1K412014混凝土施工技术1K412015预应力混凝土施工技术1K412016桥面防水系统施工技术1K412017桥梁支座、伸缩装置安装技术1K412018桥梁维护与改造施工技术1K412011城市桥梁结构组成与类型(二)桥梁的基本组成桥梁由上部结构、下部结构、支座系统和附属设施四个基本部分组成。桥梁由上部结构、下部结构、支座系统和附属设施四个基本部分组成。上部结构(桥跨结构)桥梁由上部结构、下部结构、支座系统和附属设施四个基本部分组成。上部结构(桥跨结构)桥梁由上部结构、下部结构、支座系统和附属设施四个基本部分组成。一、桥梁基本组成与常用术语(二)桥梁的基本组成(1)上部结构:在线路遇到障碍而中断时,跨越这类障碍的主要承载结构。桥跨结构:线路跨越障碍(如江河、山谷或其他线路等)的结构物。(2)下部结构:包括桥墩、桥台和墩台基础,是支承桥跨结构的结构物。1)桥墩:在河中或岸上支承桥跨结构的结构物。(1)桥墩:是在河中或岸上支承桥跨结构的结构物。(2)桥台:设在桥的两端;一边与路堤相接,以防止路堤滑塌;另一边则支承桥跨结构的端部。为保护桥台和路堤填土,桥台两侧常做锥形护坡、挡土墙等防护工程。(3)墩台基础:是保证桥梁墩台安全并将荷载传至地基的结构。补充知识点:桥梁的多少跨和多少孔、多少联某公司承建一座城市桥梁,该桥上部结构为6×20m简支预制预应力混凝土空心板梁2019年真题节选:主桥的上部结构采用三跨式预应力混凝土连续刚构,跨径组合为75m+120m+75m;南、北引桥的上部结构均采用等截面预应力混凝土连续箱梁,跨径组合为(30m×3)×5(3)支座系统:在桥跨结构与桥墩或桥台的支承处所设置的传力装置。它不仅要传递很大的荷载,并且还要保证桥跨结构能产生一定的变位。(4)附属设施1)桥面铺装(或称行车道铺装)2)排水防水系统3)栏杆(或防撞栏杆)4)伸缩缝5)灯光照明(4)附属设施...

1、当您付费下载文档后,您只拥有了使用权限,并不意味着购买了版权,文档只能用于自身使用,不得用于其他商业用途(如 [转卖]进行直接盈利或[编辑后售卖]进行间接盈利)。
2、本站所有内容均由合作方或网友上传,本站不对文档的完整性、权威性及其观点立场正确性做任何保证或承诺!文档内容仅供研究参考,付费前请自行鉴别。
3、如文档内容存在违规,或者侵犯商业秘密、侵犯著作权等,请点击“违规举报”。

碎片内容

蜗牛文库的最新文档

二年级数学下册其中检测卷二年级数学下册其中检测卷附答案#期中测试卷.pdf
10.00金币
0下载
二年级数学下册期末质检卷(苏教版)二年级数学下册期末质检卷(苏教版)#期末复习 #期末测试卷 #二年级数学 #二年级数学下册#关注我持续更新小学知识.pdf
10.00金币
0下载
二年级数学下册期末混合运算专项练习二年级数学下册期末混合运算专项练习#二年级#二年级数学下册#关注我持续更新小学知识 #知识分享 #家长收藏孩子受益.pdf
10.00金币
1下载
二年级数学下册年月日三类周期问题解题方法二年级数学下册年月日三类周期问题解题方法#二年级#二年级数学下册#知识分享 #关注我持续更新小学知识 #家长收藏孩子受益.pdf
10.00金币
0下载
二年级数学下册解决问题专项训练二年级数学下册解决问题专项训练#专项训练#解决问题#二年级#二年级数学下册#知识分享.pdf
10.00金币
1下载
二年级数学下册还原问题二年级数学下册还原问题#二年级#二年级数学#关注我持续更新小学知识 #知识分享 #家长收藏孩子受益.pdf
10.00金币
1下载
二年级数学下册第六单元考试卷家长打印出来给孩子测试测试争取拿到高分!#小学二年级试卷分享 #二年级第六单考试数学 #第六单考试#二年级数学下册.pdf
10.00金币
0下载
二年级数学下册必背顺口溜口诀汇总二年级数学下册必背顺口溜口诀汇总#二年级#二年级数学下册 #知识分享 #家长收藏孩子受益 #关注我持续更新小学知识.pdf
10.00金币
0下载
二年级数学下册《重点难点思维题》两大问题解决技巧和方法巧算星期几解决周期问题还原问题强化思维训练老师精心整理家长可以打印出来给孩子练习#家长收藏孩子受益 #学霸秘籍 #思维训练 #二年级 #知识点总结.pdf
10.00金币
0下载
二年级数学下册 必背公式大全寒假提前背一背开学更轻松#二年级 #二年级数学 #二年级数学下册 #寒假充电计划 #公式.pdf
10.00金币
0下载
蜗牛文库+ 关注
实名认证
内容提供者

提供各种专业文档内容

确认删除?
QQ
  • QQ点击这里给我发消息
微信客服
  • 微信客服
回到顶部