电脑桌面
添加蜗牛文库到电脑桌面
安装后可以在桌面快捷访问

2016年上半年 软件设计师 案例分析(2).docxVIP免费

2016年上半年 软件设计师 案例分析(2).docx_第1页
2016年上半年 软件设计师 案例分析(2).docx_第2页
2016年上半年 软件设计师 案例分析(2).docx_第3页
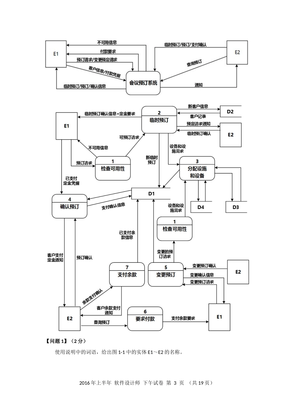
2016年上半年软件设计师下午试卷第1页(共19页)全国计算机技术与软件专业技术资格(水平)考试2016年上半年软件设计师下午试卷(考试时间14:00~16:30共150分钟)请按下述要求正确填写答题纸1.在答题纸的指定位置填写你所在的省、自治区、直辖市、计划单列市的名称。2.在答题纸的指定位置填写准考证号、出生年月日和姓名。3.答题纸上除填写上述内容外只能写解答。4.本试卷共6道题,试题一至试题四是必答题,试题五至试题六选答1道。每题15分,满分75分。5.解答时字迹务必清楚,字迹不清时,将不评分。6.仿照下面例题,将解答写在答题纸的对应栏内。例题2015年上半年全国计算机技术与软件专业技术资格(水平)考试日期是(1)月(2)日。因为正确的解答是“5月20日”,故在答题纸的对应栏内写上“5”和“20”(参看下表)。2016年上半年软件设计师下午试卷第2页(共19页)例题解答栏(1)5(2)20试题一至试题四是必答题试题一(共15分)阅读下列说明和图,回答问题1至问题4,将解答填入答题纸的对应栏内。【说明】某会议中心提供举办会议的场地设施和各种设备,供公司与各类组织机构租用。场地包括一个大型报告厅、一个小型报告厅以及诸多会议室。这些报告厅和会议室可提供的设备有投影仪、白板、视频播放/回放设备、计算机等。为了加强管理,该中心欲开发一会议预订系统,系统的主要功能如下。(1)检查可用性。客户提交预订请求后,检查预订表,判定所申请的场地是否在申请日期内可用;如果不可用,返回不可用信息。(2)临时预订。会议中心管理员收到客户预定请求的通知之后,提交确认。系统生成新临时预订存入预订表,并对新客户创建一条客户信息记录加以保存。根据客户记录给客户发送临时预订确认信息和支付定金要求。(3)分配设施与设备。根据临时预订或变更预定的设备和设施需求,分配所需设备(均能满足用户要求)和设施,更新相应的表和预订表。(4)确认预订。管理员收到客户支付定金的通知后,检查确认,更新预订表,根据客户记录给客户发送预订确认信息。(5)变更预订。客户还可以在支付余款前提交变更预订请求,对变更的预订请求检查可用性,如果可用,分配设施和设各;如果不可用,返回不可用信息。管理员确认变更后根据客户记录给客户发送确认信息。(6)要求付款。管理员从预订表中查询距预订的会议时间两周内的预定,根据客户记录给满足条件的客户发送支付余款要求。(7)支付余款。管理员收到客户余款支付的通知后,检查确认...

1、当您付费下载文档后,您只拥有了使用权限,并不意味着购买了版权,文档只能用于自身使用,不得用于其他商业用途(如 [转卖]进行直接盈利或[编辑后售卖]进行间接盈利)。
2、本站所有内容均由合作方或网友上传,本站不对文档的完整性、权威性及其观点立场正确性做任何保证或承诺!文档内容仅供研究参考,付费前请自行鉴别。
3、如文档内容存在违规,或者侵犯商业秘密、侵犯著作权等,请点击“违规举报”。

碎片内容

蜗牛文库的最新文档

二年级数学下册其中检测卷二年级数学下册其中检测卷附答案#期中测试卷.pdf
10.00金币
0下载
二年级数学下册期末质检卷(苏教版)二年级数学下册期末质检卷(苏教版)#期末复习 #期末测试卷 #二年级数学 #二年级数学下册#关注我持续更新小学知识.pdf
10.00金币
0下载
二年级数学下册期末混合运算专项练习二年级数学下册期末混合运算专项练习#二年级#二年级数学下册#关注我持续更新小学知识 #知识分享 #家长收藏孩子受益.pdf
10.00金币
1下载
二年级数学下册年月日三类周期问题解题方法二年级数学下册年月日三类周期问题解题方法#二年级#二年级数学下册#知识分享 #关注我持续更新小学知识 #家长收藏孩子受益.pdf
10.00金币
0下载
二年级数学下册解决问题专项训练二年级数学下册解决问题专项训练#专项训练#解决问题#二年级#二年级数学下册#知识分享.pdf
10.00金币
1下载
二年级数学下册还原问题二年级数学下册还原问题#二年级#二年级数学#关注我持续更新小学知识 #知识分享 #家长收藏孩子受益.pdf
10.00金币
1下载
二年级数学下册第六单元考试卷家长打印出来给孩子测试测试争取拿到高分!#小学二年级试卷分享 #二年级第六单考试数学 #第六单考试#二年级数学下册.pdf
10.00金币
0下载
二年级数学下册必背顺口溜口诀汇总二年级数学下册必背顺口溜口诀汇总#二年级#二年级数学下册 #知识分享 #家长收藏孩子受益 #关注我持续更新小学知识.pdf
10.00金币
0下载
二年级数学下册《重点难点思维题》两大问题解决技巧和方法巧算星期几解决周期问题还原问题强化思维训练老师精心整理家长可以打印出来给孩子练习#家长收藏孩子受益 #学霸秘籍 #思维训练 #二年级 #知识点总结.pdf
10.00金币
0下载
二年级数学下册 必背公式大全寒假提前背一背开学更轻松#二年级 #二年级数学 #二年级数学下册 #寒假充电计划 #公式.pdf
10.00金币
0下载
蜗牛文库+ 关注
实名认证
内容提供者

提供各种专业文档内容

确认删除?
QQ
  • QQ点击这里给我发消息
微信客服
  • 微信客服
回到顶部