电脑桌面
添加蜗牛文库到电脑桌面
安装后可以在桌面快捷访问

2012年国赛B题附件 (1).docVIP免费

2012年国赛B题附件 (1).doc_第1页
2012年国赛B题附件 (1).doc_第2页
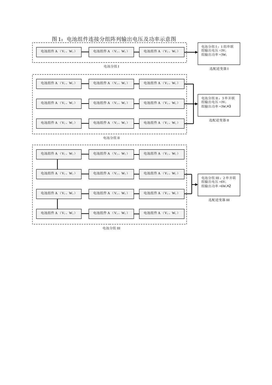
附件1:光伏电池组件的分组及逆变器选择的要求(1)光伏电池组件分组阵列连接要求。光伏电池组件在排布阵列安装时应根据可能选用逆变器的额定工作电压(V)范围和功率容量(W)等参数进行分组设计。电池组件可以通过同类型组件的串联叠加电压和功率形成“一串”连接组件及相应的输出电压(V)和功率(W)。为了保证光伏组件正常工作,只允许相同型号的光伏组件进行串联。多个光伏组件串联后可以再进行并联,并联的光伏组件端电压相差不应超过10%。一串或多串(相同电压、功率)组件通过并联即形成“分组阵列”,该“分组阵列”的总功率(W)为所有组件功率的总和,本附件中的图1给出了三种光伏电池的串并联形式。同一分组阵列中的组件在安装时,应尽可能保证具有相同的太阳辐射条件(朝向、倾角等)。(2)逆变器选配要求。光伏电池一般经过串、并联组成光伏分组阵列接入逆变器的直流侧,逆变器对于接入的光伏分组阵列有以下要求:a)光伏分组阵列的端电压应满足逆变器直流输入电压范围,当电压低于其范围下限时,逆变器将停止运行。此时光伏发电系统不输出电力,即认为系统不能发电,应在发电量计算中予以剔除。为简化计算在此可通过电池表面太阳光辐照阈值(光伏电池组件启动发电时其表面所应接受到的最低辐射量限值,单晶硅和多晶硅电池启动发电的表面总辐射量≥80W/m2、薄膜电池表面总辐射量≥30W/m2)进行判断;b)光伏阵列的最大功率不能超过逆变器的额定容量。根据设计的电池组件分组阵列的输出电压和总功率选配相应工作电压和功率的逆变器,或根据逆变器的参数调整设计电池组件分组阵列串并联的方式以满足相应的输出电压和总功率。逆变器的选配容量应≥光伏电池组件分组安装的容量。图1:电池组件连接分组阵列输出电压及功率示意图电池组件A(V1、W1)电池组件A(V1、W1)电池组件A(V1、W1)电池组件A(V1、W1)电池组件A(V1、W1)电池分组II:3串并联组输出电压=3V1组输出功率=3W1╳3电池组件A(V1、W1)电池组件A(V1、W1)电池组件A(V1、W1)电池组件A(V1、W1)电池分组II选配逆变器II电池组件A(V1、W1)电池组件A(V1、W1)电池分组I:1组串联组输出电压=3V1组输出功率=3W1电池组件A(V1、W1)电池分组I选配逆变器I电池组件A(V1、W1)电池组件A(V1、W1)电池组件A(V1、W1)电池组件A(V1、W1)电池组件A(V1、W1)电池分组III:2串并联组输出电压=6V1组输出功率=6W1╳2电池组件A(V1、W1)选配逆变器III电池组件A(V1、W1)电池组...

1、当您付费下载文档后,您只拥有了使用权限,并不意味着购买了版权,文档只能用于自身使用,不得用于其他商业用途(如 [转卖]进行直接盈利或[编辑后售卖]进行间接盈利)。
2、本站所有内容均由合作方或网友上传,本站不对文档的完整性、权威性及其观点立场正确性做任何保证或承诺!文档内容仅供研究参考,付费前请自行鉴别。
3、如文档内容存在违规,或者侵犯商业秘密、侵犯著作权等,请点击“违规举报”。

碎片内容

蜗牛文库的最新文档

二年级数学下册其中检测卷二年级数学下册其中检测卷附答案#期中测试卷.pdf
10.00金币
0下载
二年级数学下册期末质检卷(苏教版)二年级数学下册期末质检卷(苏教版)#期末复习 #期末测试卷 #二年级数学 #二年级数学下册#关注我持续更新小学知识.pdf
10.00金币
0下载
二年级数学下册期末混合运算专项练习二年级数学下册期末混合运算专项练习#二年级#二年级数学下册#关注我持续更新小学知识 #知识分享 #家长收藏孩子受益.pdf
10.00金币
1下载
二年级数学下册年月日三类周期问题解题方法二年级数学下册年月日三类周期问题解题方法#二年级#二年级数学下册#知识分享 #关注我持续更新小学知识 #家长收藏孩子受益.pdf
10.00金币
0下载
二年级数学下册解决问题专项训练二年级数学下册解决问题专项训练#专项训练#解决问题#二年级#二年级数学下册#知识分享.pdf
10.00金币
1下载
二年级数学下册还原问题二年级数学下册还原问题#二年级#二年级数学#关注我持续更新小学知识 #知识分享 #家长收藏孩子受益.pdf
10.00金币
1下载
二年级数学下册第六单元考试卷家长打印出来给孩子测试测试争取拿到高分!#小学二年级试卷分享 #二年级第六单考试数学 #第六单考试#二年级数学下册.pdf
10.00金币
0下载
二年级数学下册必背顺口溜口诀汇总二年级数学下册必背顺口溜口诀汇总#二年级#二年级数学下册 #知识分享 #家长收藏孩子受益 #关注我持续更新小学知识.pdf
10.00金币
0下载
二年级数学下册《重点难点思维题》两大问题解决技巧和方法巧算星期几解决周期问题还原问题强化思维训练老师精心整理家长可以打印出来给孩子练习#家长收藏孩子受益 #学霸秘籍 #思维训练 #二年级 #知识点总结.pdf
10.00金币
0下载
二年级数学下册 必背公式大全寒假提前背一背开学更轻松#二年级 #二年级数学 #二年级数学下册 #寒假充电计划 #公式.pdf
10.00金币
0下载
蜗牛文库+ 关注
实名认证
内容提供者

提供各种专业文档内容

确认删除?
QQ
  • QQ点击这里给我发消息
微信客服
  • 微信客服
回到顶部