电脑桌面
添加蜗牛文库到电脑桌面
安装后可以在桌面快捷访问

协商、沟通与信息交流控制程序.docVIP免费

协商、沟通与信息交流控制程序.doc_第1页
协商、沟通与信息交流控制程序.doc_第2页
协商、沟通与信息交流控制程序.doc_第3页
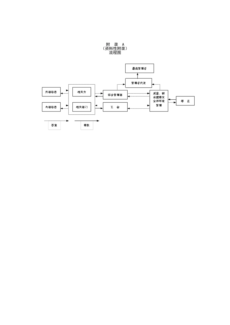
协商、沟通与信息交流控制程序1目的通过与相关方及公司员工的协商、沟通与信息交流,确保有关质量、职业健康安全和环境的信息沟通,使所有受到质量、职业健康安全和环境影响的员工及其他相关方参与和支持公司的质量、职业健康安全和环境方针和目标的实现,并吸取相关方的合理建议和意见,进一步改进公司的质量管理体系、职业健康安全和环境管理体系。2范围适用于公司质量管理、职业健康安全和环境管理体系的协商、沟通与信息交流管理。3职责3.1最高管理者负责对重大质量、职业健康安全和环境信息的决策。3.2管理者代表负责对重大质量、职业健康安全和环境信息的处理。3.3综合管理部负责与上级主管部门、行业主管部门、其他相关方及公司内部的信息交流、传递和处理。3.4工会代表员工参与职业健康安全和环境管理事务。参与有关职业健康安全和环境方针、程序等的讨论、决策。3.5各有关部门负责与相关方进行信息交流、传递和处理,并向综合管理部或管理者代表通报传递和处理情况。3.6各有关部门负责相应职能范围内的质量、职业健康安全和环境信息交流。4管理内容与方法4.1内部信息4.1.1内部信息内容包括:——质量、职业健康安全和环境方针、目标的实现情况;——法律、法规、规范、标准及其他要求;——顾客要求过程、危险源和环境因素调查、评价及更改信息;——企业质量、职业健康安全和环境目标、指标及质量、职业健康安全和环境管理方案;——各部门的质量、职业健康安全和环境职责:——质量、职业健康安全和环境培训的信息;——监测、测量结果;——不符合与预防纠正措施的信息;——质量管理体系、职业健康安全和环境管理体系内部审核结果的信息;——管理评审结果的信息;——员工的建议与意见。4.1.2综合管理部负责按规定要求将所要传达的企业质量、职业健康安全和环境管理体系运行过程中的上述各种信息及时、准确地传达至各部门主管。4.1.3工会作为员工代表机构,负责组织员工积极参与管理体系的有关事务,负责收集员工的意见和建议,并在员工与行政中建立沟通、协商交流的桥梁和渠道。4.1.4部门的质量、职业健康安全和环境信息由各部门主管按规定要求负责将其汇总至综合管理部,各部门之间的质量、职业健康安全和环境信息交流由各部门间相互传达。4.1.5内部信息的接收和处理4.1.5.1体系运行信息,包括企业的质量、职业健康安全和环境方针、目标、指标、管理方案等,由最高管理者公布或授权管理者代表公布,综合管理部向各部门发布,再由各...

1、当您付费下载文档后,您只拥有了使用权限,并不意味着购买了版权,文档只能用于自身使用,不得用于其他商业用途(如 [转卖]进行直接盈利或[编辑后售卖]进行间接盈利)。
2、本站所有内容均由合作方或网友上传,本站不对文档的完整性、权威性及其观点立场正确性做任何保证或承诺!文档内容仅供研究参考,付费前请自行鉴别。
3、如文档内容存在违规,或者侵犯商业秘密、侵犯著作权等,请点击“违规举报”。

碎片内容

蜗牛文库的最新文档

二年级数学下册其中检测卷二年级数学下册其中检测卷附答案#期中测试卷.pdf
10.00金币
0下载
二年级数学下册期末质检卷(苏教版)二年级数学下册期末质检卷(苏教版)#期末复习 #期末测试卷 #二年级数学 #二年级数学下册#关注我持续更新小学知识.pdf
10.00金币
0下载
二年级数学下册期末混合运算专项练习二年级数学下册期末混合运算专项练习#二年级#二年级数学下册#关注我持续更新小学知识 #知识分享 #家长收藏孩子受益.pdf
10.00金币
1下载
二年级数学下册年月日三类周期问题解题方法二年级数学下册年月日三类周期问题解题方法#二年级#二年级数学下册#知识分享 #关注我持续更新小学知识 #家长收藏孩子受益.pdf
10.00金币
0下载
二年级数学下册解决问题专项训练二年级数学下册解决问题专项训练#专项训练#解决问题#二年级#二年级数学下册#知识分享.pdf
10.00金币
1下载
二年级数学下册还原问题二年级数学下册还原问题#二年级#二年级数学#关注我持续更新小学知识 #知识分享 #家长收藏孩子受益.pdf
10.00金币
1下载
二年级数学下册第六单元考试卷家长打印出来给孩子测试测试争取拿到高分!#小学二年级试卷分享 #二年级第六单考试数学 #第六单考试#二年级数学下册.pdf
10.00金币
0下载
二年级数学下册必背顺口溜口诀汇总二年级数学下册必背顺口溜口诀汇总#二年级#二年级数学下册 #知识分享 #家长收藏孩子受益 #关注我持续更新小学知识.pdf
10.00金币
0下载
二年级数学下册《重点难点思维题》两大问题解决技巧和方法巧算星期几解决周期问题还原问题强化思维训练老师精心整理家长可以打印出来给孩子练习#家长收藏孩子受益 #学霸秘籍 #思维训练 #二年级 #知识点总结.pdf
10.00金币
0下载
二年级数学下册 必背公式大全寒假提前背一背开学更轻松#二年级 #二年级数学 #二年级数学下册 #寒假充电计划 #公式.pdf
10.00金币
0下载
蜗牛文库+ 关注
实名认证
内容提供者

提供各种专业文档内容

确认删除?
QQ
  • QQ点击这里给我发消息
微信客服
  • 微信客服
回到顶部