电脑桌面
添加蜗牛文库到电脑桌面
安装后可以在桌面快捷访问

内部审核控制程序.docVIP免费

内部审核控制程序.doc_第1页
内部审核控制程序.doc_第2页
内部审核控制程序.doc_第3页
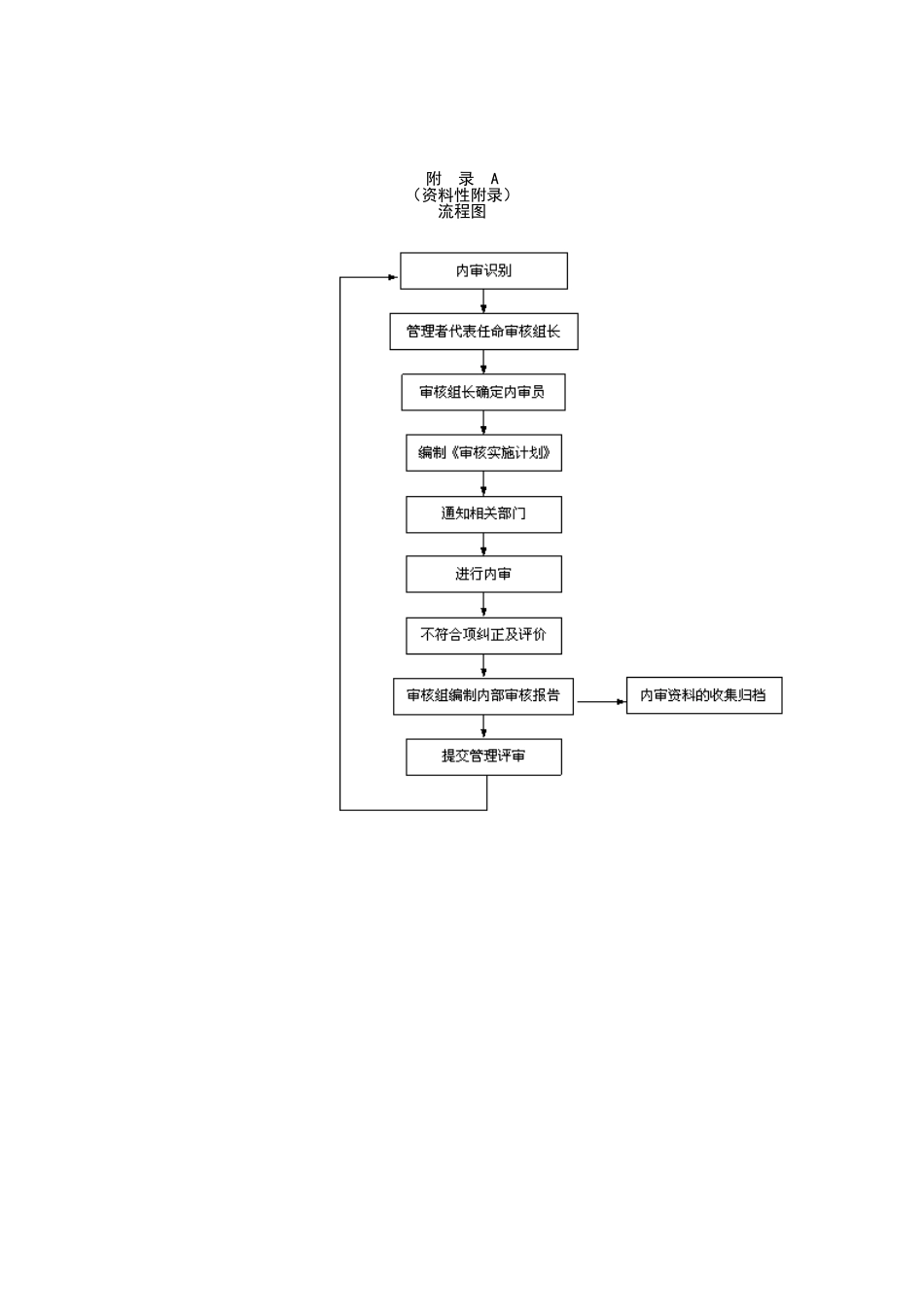
内部审核控制程序1目的审核公司质量管理体系、职业健康安全和环境管理体系的运行及其结果的符合性与有效性,确保质量管理体系、职业健康安全和环境管理体系持续有效地运行,并为质量管理体系、职业健康安全和环境管理体系的改进提供依据。2范围适用于公司质量管理体系,职业健康安全和环境管理体系的内部审核。3职责3.1由总经理授权、管理者代表负责对审核方案管理的领导工作。3.2综合管理部负责本程序的归口管理以及审核方案管理工作。3.3由管理者代表负责组织内审,审核批准内审计划,任命审核组长,审核员,并规定其职责,将汇总后的审核结果提交管理评审。3.4由审核组长选派具有内部审核员资格且与被审核区域无直接责任者担任审核组成员,并根据计划适当分工。3.5审核组成员在审核组组长组织下,制定审核专用文件,经审核组长审核批准后实施。4管理内容与方法4.1计划制订一般情况下,内审在外审前或管理评审前进行,每年至少一次,两次间隔不超过12个月,审核应覆盖公司质量管理体系,职业健康安全和环境管理体系所涉及的各部门及全部管理过程。当出现下列情况时,应及时进行内审:——公司的组织或程序有重大变动时;——发现质量、职业健康安全和环境管理无保障,例如出现重大质量,职业健康安全和环境事故或出现重大不符合,而主要原因为企业管理问题时;——建立质量管理体系,职业健康安全和环境管理体系初期;——公司认为应进行内部质量,职业健康安全和环境审核,以确保管理能力时。4.2内审前准备工作4.2.1管理者代表根据将审核的部门及工作内容任命具有内部审核员资格的合格人选担任审核组长,由审核组长负责本次审核的具体组织工作。4.2.2由审核组长选派具有内部审核员资格且与被审核区域无直接责任者担任审核组成员,并根据计划适当分工。4.2.3由审核组长组织审核组成员,制定审核专用文件,包括:《审核实施计划》、《审核检查表》及相关记录标格等,经审核组长审核批准后实施。4.2.4准备好审核所依据的文件。4.2.5由审核组长提前一星期向受审部门发出本次《审核实施计划》,《审核实施计划》内容应包括:审核的目的,审核日期,审核范围,审核的依据,审核组长,审核组成员,具体日程安排以及资源需求等。4.2.6受审部门收到《审核实施计划》后,如果对审核日期或主要的项目有异议,可在两天内通知审核组,经过协商可以再行安排。4.2.7受审部门要确定陪同人员并做好必要的准备工作。4.3审核实施4.3.1审核的具体内容按照《审核实施...

1、当您付费下载文档后,您只拥有了使用权限,并不意味着购买了版权,文档只能用于自身使用,不得用于其他商业用途(如 [转卖]进行直接盈利或[编辑后售卖]进行间接盈利)。
2、本站所有内容均由合作方或网友上传,本站不对文档的完整性、权威性及其观点立场正确性做任何保证或承诺!文档内容仅供研究参考,付费前请自行鉴别。
3、如文档内容存在违规,或者侵犯商业秘密、侵犯著作权等,请点击“违规举报”。

碎片内容

蜗牛文库的最新文档

二年级数学下册其中检测卷二年级数学下册其中检测卷附答案#期中测试卷.pdf
10.00金币
0下载
二年级数学下册期末质检卷(苏教版)二年级数学下册期末质检卷(苏教版)#期末复习 #期末测试卷 #二年级数学 #二年级数学下册#关注我持续更新小学知识.pdf
10.00金币
0下载
二年级数学下册期末混合运算专项练习二年级数学下册期末混合运算专项练习#二年级#二年级数学下册#关注我持续更新小学知识 #知识分享 #家长收藏孩子受益.pdf
10.00金币
1下载
二年级数学下册年月日三类周期问题解题方法二年级数学下册年月日三类周期问题解题方法#二年级#二年级数学下册#知识分享 #关注我持续更新小学知识 #家长收藏孩子受益.pdf
10.00金币
0下载
二年级数学下册解决问题专项训练二年级数学下册解决问题专项训练#专项训练#解决问题#二年级#二年级数学下册#知识分享.pdf
10.00金币
1下载
二年级数学下册还原问题二年级数学下册还原问题#二年级#二年级数学#关注我持续更新小学知识 #知识分享 #家长收藏孩子受益.pdf
10.00金币
1下载
二年级数学下册第六单元考试卷家长打印出来给孩子测试测试争取拿到高分!#小学二年级试卷分享 #二年级第六单考试数学 #第六单考试#二年级数学下册.pdf
10.00金币
0下载
二年级数学下册必背顺口溜口诀汇总二年级数学下册必背顺口溜口诀汇总#二年级#二年级数学下册 #知识分享 #家长收藏孩子受益 #关注我持续更新小学知识.pdf
10.00金币
0下载
二年级数学下册《重点难点思维题》两大问题解决技巧和方法巧算星期几解决周期问题还原问题强化思维训练老师精心整理家长可以打印出来给孩子练习#家长收藏孩子受益 #学霸秘籍 #思维训练 #二年级 #知识点总结.pdf
10.00金币
0下载
二年级数学下册 必背公式大全寒假提前背一背开学更轻松#二年级 #二年级数学 #二年级数学下册 #寒假充电计划 #公式.pdf
10.00金币
0下载
蜗牛文库+ 关注
实名认证
内容提供者

提供各种专业文档内容

确认删除?
QQ
  • QQ点击这里给我发消息
微信客服
  • 微信客服
回到顶部