电脑桌面
添加蜗牛文库到电脑桌面
安装后可以在桌面快捷访问

培训控制程序.docVIP免费

培训控制程序.doc_第1页
培训控制程序.doc_第2页
培训控制程序.doc_第3页
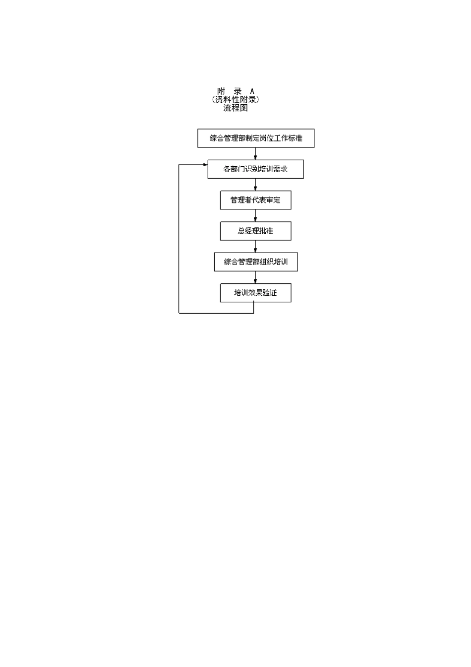
培训控制程序1目的为建立和保持质量职业健康安全管理体系和环境管理体系,确保体系按规定实施运行,提高员工职地安全健康意识和环保意识及应具备的能力,防止各类事故的发生,减少和预防质量职业健康安全风险和环境影响,消除或减少人员伤害和财产损失。2范围适用于公司全体员工的质量职业健康安全和环境培训工作。3职责3.1综合管理部(人力资源)负责确定质量职业健康安全和环境管理体系各岗位的任职能力要求及各层次人员的培训需求和培训计划并组织实施。3.2各相关职能部门根据培训计划,配合综合管理部(人力资源)实施培训计划,并对培训计划效果进行评价。3.3综合管理部(人力资源)负责对培训效果及能力进行鉴定。3.4各部门负责培训人员的输送及配合综合管理部(人力资源)进行具体培训的实施和培训效果的验证。4管理内容与方法4.1培训需求的识别:4.1.1综合管理部(人力资源)组织制定各岗位的“岗位工作标准”,对岗位人员的教育培训经历、技能要求作出规定,报最高管理者批准。4.1.2综合管理部(人力资源)应根据公司的年度计划和长远规划,以及“岗位工作标准”,评价现有人力资源能否满足体系运行需要,对不能满足的安排培训。4.1.3每年定期由综合管理部(体系管理)组织各部门对员工质量、职业安全健康和环境管理体系、法律、法规和公司有关规章制度的培训需求进行分析和评价,并填写《培训计划申报表》送交综合管理部(人力资源)。4.1.4每年定期由综合管理部组织各部门识别培训需求,以提高员工业务能力,填写《培训计划申报表》报综合管理部(人力资源),综合管理部(人力资源)汇总后,编制公司年度培训计划,报分管副总经理审核后,公司总经理批准。4.1.5各部门为提高员工业务能力,根据公司年度培训计划,填写《培训申请表》,向综合管理部(人力资源)提出培训需求,综合管理部(人力资源)批准。4.1.6未纳入公司年度计划的培训申请,申请部门填写《培训申请表》报综合管理部(人力资源)审核后,报公司领导批准。4.2培训计划:4.2.1年度培训计划的制定:综合管理部(人力资源)每年定期根据培训需求情况制定《年度培训计划》,明确培训目的、内容、形式、对象、时间和责任人。4.2.2培训方式:——本公司内部培训(含新进人员三级安全教育培训、跟班实习,拜师培训等);——员工自学;——由公司统一组织相关人员参加外单位举办的专业培训班;——聘请专业人员来公司进行定向培训:——其他培训。4.2.3培训种类——新进公司员...

1、当您付费下载文档后,您只拥有了使用权限,并不意味着购买了版权,文档只能用于自身使用,不得用于其他商业用途(如 [转卖]进行直接盈利或[编辑后售卖]进行间接盈利)。
2、本站所有内容均由合作方或网友上传,本站不对文档的完整性、权威性及其观点立场正确性做任何保证或承诺!文档内容仅供研究参考,付费前请自行鉴别。
3、如文档内容存在违规,或者侵犯商业秘密、侵犯著作权等,请点击“违规举报”。

碎片内容

蜗牛文库的最新文档

二年级数学下册其中检测卷二年级数学下册其中检测卷附答案#期中测试卷.pdf
10.00金币
0下载
二年级数学下册期末质检卷(苏教版)二年级数学下册期末质检卷(苏教版)#期末复习 #期末测试卷 #二年级数学 #二年级数学下册#关注我持续更新小学知识.pdf
10.00金币
0下载
二年级数学下册期末混合运算专项练习二年级数学下册期末混合运算专项练习#二年级#二年级数学下册#关注我持续更新小学知识 #知识分享 #家长收藏孩子受益.pdf
10.00金币
1下载
二年级数学下册年月日三类周期问题解题方法二年级数学下册年月日三类周期问题解题方法#二年级#二年级数学下册#知识分享 #关注我持续更新小学知识 #家长收藏孩子受益.pdf
10.00金币
0下载
二年级数学下册解决问题专项训练二年级数学下册解决问题专项训练#专项训练#解决问题#二年级#二年级数学下册#知识分享.pdf
10.00金币
1下载
二年级数学下册还原问题二年级数学下册还原问题#二年级#二年级数学#关注我持续更新小学知识 #知识分享 #家长收藏孩子受益.pdf
10.00金币
1下载
二年级数学下册第六单元考试卷家长打印出来给孩子测试测试争取拿到高分!#小学二年级试卷分享 #二年级第六单考试数学 #第六单考试#二年级数学下册.pdf
10.00金币
0下载
二年级数学下册必背顺口溜口诀汇总二年级数学下册必背顺口溜口诀汇总#二年级#二年级数学下册 #知识分享 #家长收藏孩子受益 #关注我持续更新小学知识.pdf
10.00金币
0下载
二年级数学下册《重点难点思维题》两大问题解决技巧和方法巧算星期几解决周期问题还原问题强化思维训练老师精心整理家长可以打印出来给孩子练习#家长收藏孩子受益 #学霸秘籍 #思维训练 #二年级 #知识点总结.pdf
10.00金币
0下载
二年级数学下册 必背公式大全寒假提前背一背开学更轻松#二年级 #二年级数学 #二年级数学下册 #寒假充电计划 #公式.pdf
10.00金币
0下载
蜗牛文库+ 关注
实名认证
内容提供者

提供各种专业文档内容

确认删除?
QQ
  • QQ点击这里给我发消息
微信客服
  • 微信客服
回到顶部