电脑桌面
添加蜗牛文库到电脑桌面
安装后可以在桌面快捷访问

事故、事件、不符合控制程序.docVIP免费

事故、事件、不符合控制程序.doc_第1页
事故、事件、不符合控制程序.doc_第2页
事故、事件、不符合控制程序.doc_第3页
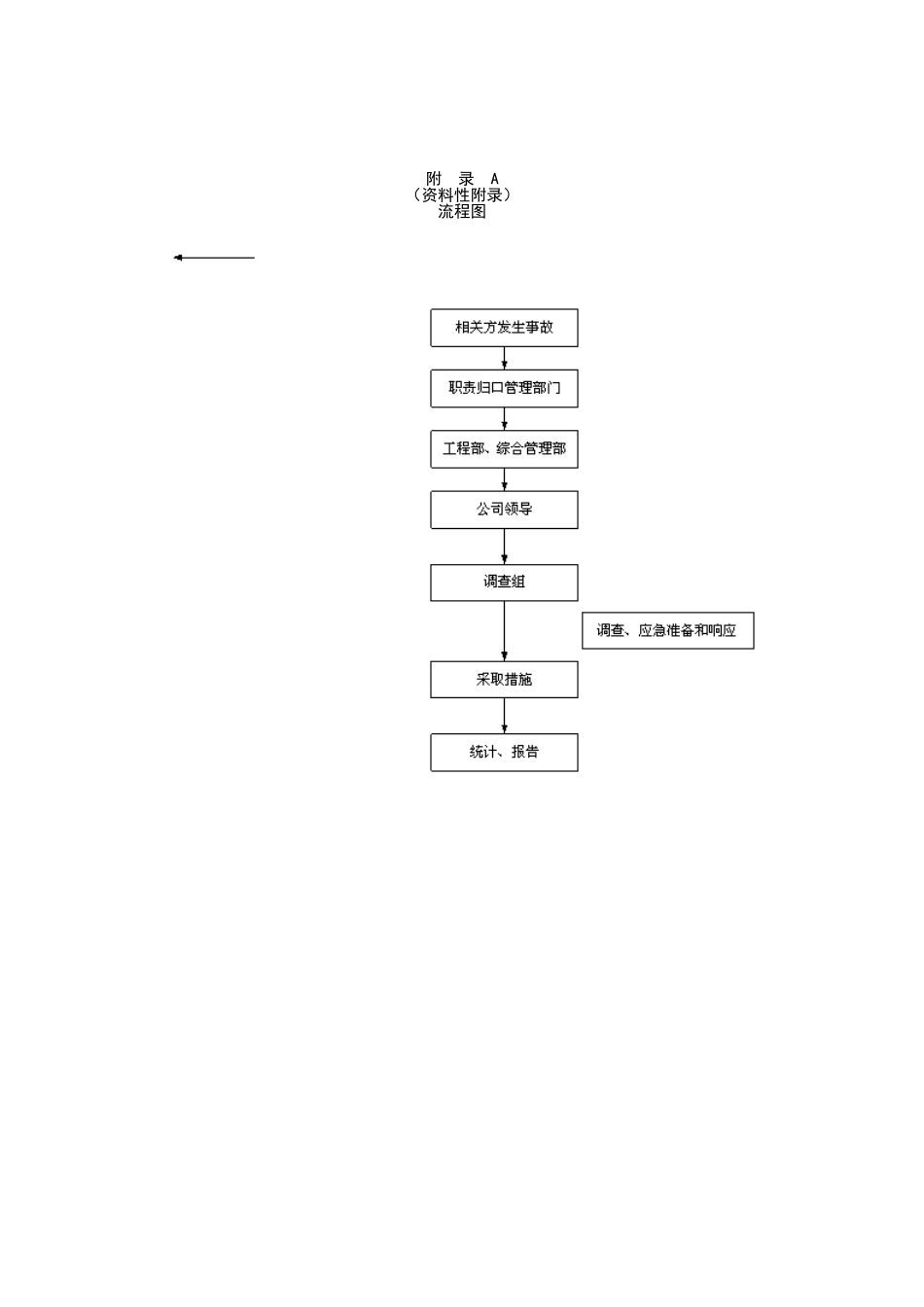
事故、事件、不符合控制程序1目的为了对质量、职业健康安全、环境污染以及其他灾害事故的及时调查,分析,处理,以便采取有效的措施,使不符合的现实和潜在的根源得到消除,达到防止类似事故的重复发生,保证公司质量、职业健康安全和环境方针、目标的实现。2范围适用于公司质量、职业健康安全和环境事故调查、处理、报告的管理。3职责3.1公司综合管理部负责职业健康安全、环境的不符合项的控制归口管理。3.2公司各部门负责本部门职业健康安全及环境运行不符合项的控制,对不符合项进行纠正,必要时制定纠正预防控制措施实施控制。3.3工程部是事故、事件调查、处理和报告控制的归口管理部门,管理者代表负责领导事故、事件的调查处理。3.4工程部负责组织对质量事故、人身事故、火灾事故、交通事故、机械设备事故、事件、环境污染、违章雷击以及地震等事件的调查、分析和处理。3.5工程部负责对相关事故、事件、违章的报告及一般事故、事件、违章的调查和处理,协助管理者代表对重大事故、事件、违章的调查和处理。3.6综合管理部负责有关食品卫生和传染病方面事件及管理体系不符合项的调查和处理。3.7工会参与有关事故、事件、违章的调查、处理和报告。4管理内容与方法4.1不符合项的来源——内审中发现的不符合项;——日常运行中各部门发现的不符合项;——管理评审中发现的不符合项;——监测和测量中发现的不符合项;——外部审核发现的不符合项。4.2不符合项控制要求——对日常运行中发现的不符合项由责任单位负责纠正;4.3事故快报4.3.1事故快报范围·人员伤亡一次造成三人以上轻伤,或一人以上重伤的事故;·事故发生后,因高处坠落、触电、火灾、高空落物、中毒窒息和传染病等造成人员伤势不明,不能确定伤害程度的情况;·火灾事故;·质量事故;·交通死亡事故或人员重伤实施抢救或造成三人以上负伤以及车物严重受损的交通事故;·设备严重损坏、倾覆、侧翻等事件;·因暴雨、风暴、雷击、地震等自然灾害造成局部或全部停产,或由此引起人员伤亡和环境传染的事件;·放射源或剧毒物品引起人员伤害或在一小时内未寻回放射源或剧毒物品的事件;·化学物品大量流失引起污染或可能引发事故的事件;·其他有关引起电力、通讯、供气、供水中断的事故或事件;4.3.2快报时间设定各部门或相关供方在灾害或事故、事件、违章发生后一小时内向公司相应的职责归口管理部门电话报告,并在一个工作日内,填写灾害或事故快报,以形式书面报告公司相应的职责...

1、当您付费下载文档后,您只拥有了使用权限,并不意味着购买了版权,文档只能用于自身使用,不得用于其他商业用途(如 [转卖]进行直接盈利或[编辑后售卖]进行间接盈利)。
2、本站所有内容均由合作方或网友上传,本站不对文档的完整性、权威性及其观点立场正确性做任何保证或承诺!文档内容仅供研究参考,付费前请自行鉴别。
3、如文档内容存在违规,或者侵犯商业秘密、侵犯著作权等,请点击“违规举报”。

碎片内容

蜗牛文库的最新文档

二年级数学下册其中检测卷二年级数学下册其中检测卷附答案#期中测试卷.pdf
10.00金币
0下载
二年级数学下册期末质检卷(苏教版)二年级数学下册期末质检卷(苏教版)#期末复习 #期末测试卷 #二年级数学 #二年级数学下册#关注我持续更新小学知识.pdf
10.00金币
0下载
二年级数学下册期末混合运算专项练习二年级数学下册期末混合运算专项练习#二年级#二年级数学下册#关注我持续更新小学知识 #知识分享 #家长收藏孩子受益.pdf
10.00金币
1下载
二年级数学下册年月日三类周期问题解题方法二年级数学下册年月日三类周期问题解题方法#二年级#二年级数学下册#知识分享 #关注我持续更新小学知识 #家长收藏孩子受益.pdf
10.00金币
0下载
二年级数学下册解决问题专项训练二年级数学下册解决问题专项训练#专项训练#解决问题#二年级#二年级数学下册#知识分享.pdf
10.00金币
1下载
二年级数学下册还原问题二年级数学下册还原问题#二年级#二年级数学#关注我持续更新小学知识 #知识分享 #家长收藏孩子受益.pdf
10.00金币
1下载
二年级数学下册第六单元考试卷家长打印出来给孩子测试测试争取拿到高分!#小学二年级试卷分享 #二年级第六单考试数学 #第六单考试#二年级数学下册.pdf
10.00金币
0下载
二年级数学下册必背顺口溜口诀汇总二年级数学下册必背顺口溜口诀汇总#二年级#二年级数学下册 #知识分享 #家长收藏孩子受益 #关注我持续更新小学知识.pdf
10.00金币
0下载
二年级数学下册《重点难点思维题》两大问题解决技巧和方法巧算星期几解决周期问题还原问题强化思维训练老师精心整理家长可以打印出来给孩子练习#家长收藏孩子受益 #学霸秘籍 #思维训练 #二年级 #知识点总结.pdf
10.00金币
0下载
二年级数学下册 必背公式大全寒假提前背一背开学更轻松#二年级 #二年级数学 #二年级数学下册 #寒假充电计划 #公式.pdf
10.00金币
0下载
蜗牛文库+ 关注
实名认证
内容提供者

提供各种专业文档内容

确认删除?
QQ
  • QQ点击这里给我发消息
微信客服
  • 微信客服
回到顶部