电脑桌面
添加蜗牛文库到电脑桌面
安装后可以在桌面快捷访问

24-1钢结构施工管理规定.DOCVIP免费

24-1钢结构施工管理规定.DOC_第1页
24-1钢结构施工管理规定.DOC_第2页
24-1钢结构施工管理规定.DOC_第3页
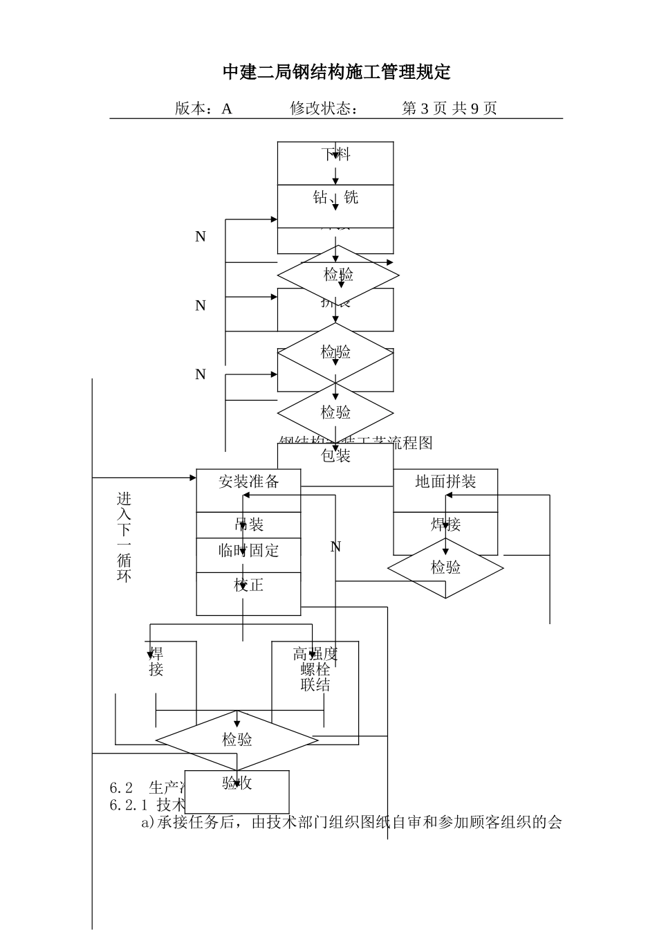
中建二局钢结构施工管理规定编制人:文件编号:SBC.QS.03.08—2000审批人:发文编号:版本:A修改状态:第1页共9页1目的确保在受控状态下,进行钢结构施工运作过程的有效管理,使钢结构质量达到规定要求。2适用范围适用于局总部和区域公司承接的钢结构的制作,安装过程的控制。3引用标准或程序3.1GB/T19001-2000idtISO9001:2000质量管理体系要求。3.2GB50205-95《钢结构工程施工及验收规范》。3.3GB50221-95《纲结构工程质量检验评定标准》。3.4JGJ81-91《建筑钢结构焊接规程》。3.5JGJ7-91《网架结构设计与施工规程》。3.6JGJ78-91《网架结构工程质量检验评定标准》。3.7SBC.QS.01.00-2000中建二局质量手册。3.8中建二局质量管理体系程序文件(2000版)。4术语4.1关键过程对工程质量、结构安全、使用功能有重要影响的过程。4.2特殊过程当生产和服务提供过程的输出不能由后续的监视或测量加以验证的过程,或在产品使用或服务已交付之后问题才显现的过程。5职责5.1局总部有关部门的职责见《生产运作程序》5.1。5.2专业公司职责5.2.1生产副经理负责制作的全过程控制。512.2工程部门负责组织、协调相关部门的生产要素运作,并监控参与制作的人员、设施、材料、工和文明施工管理工作的检查。5.2.4物资部门负责提供合格的材料、零部件。5.2.5设备部门负责提供适宜的机械设备以满足规定要求。5.2.6技术部门负责图纸会审,提供制作详图和工艺文件。5.2.3安全部门负责制作过程中安全和文明施工管理工作的检查。5.2.7人事部门负责上岗人员和特殊工种作业人员的培训、考核及资格评定。5.2.8质保部门负责编制项目质量计划,并按构件制作图纸,有关标准,规范和质量计划,实施检验和试验设备的控制和检验试验工作。5.3生产车间职责各生产车间负责按工艺文件、图纸、相应规范进行构件制作,控制各生产运作过程使过程参数达到规定要求。5.4项目经理部职责编制质量计划,负责钢构件安装资源的提供和对分包方安装过中建二局钢结构施工管理规定版本:A修改状态:第2页共9页程质量和交工资料进行监控、确认,以满足顾客要求。5.5分包方职责负责钢构件安装过程的实施,并保证安装质量满足规定要求。6工作程序执行本程序的特殊要求应在项目质量计划中明确。6.1生产运作流程以下为钢结构工程的一般流程图,针对钢结构工程其工艺流程,可以以下流程图中增减。施工准备工作流程图钢结构制作工艺流程图图纸会审人员培训提供监视和测量设备技术交底编制施工详图确定和提供...

1、当您付费下载文档后,您只拥有了使用权限,并不意味着购买了版权,文档只能用于自身使用,不得用于其他商业用途(如 [转卖]进行直接盈利或[编辑后售卖]进行间接盈利)。
2、本站所有内容均由合作方或网友上传,本站不对文档的完整性、权威性及其观点立场正确性做任何保证或承诺!文档内容仅供研究参考,付费前请自行鉴别。
3、如文档内容存在违规,或者侵犯商业秘密、侵犯著作权等,请点击“违规举报”。

碎片内容

蜗牛文库的最新文档

二年级数学下册其中检测卷二年级数学下册其中检测卷附答案#期中测试卷.pdf
10.00金币
0下载
二年级数学下册期末质检卷(苏教版)二年级数学下册期末质检卷(苏教版)#期末复习 #期末测试卷 #二年级数学 #二年级数学下册#关注我持续更新小学知识.pdf
10.00金币
0下载
二年级数学下册期末混合运算专项练习二年级数学下册期末混合运算专项练习#二年级#二年级数学下册#关注我持续更新小学知识 #知识分享 #家长收藏孩子受益.pdf
10.00金币
1下载
二年级数学下册年月日三类周期问题解题方法二年级数学下册年月日三类周期问题解题方法#二年级#二年级数学下册#知识分享 #关注我持续更新小学知识 #家长收藏孩子受益.pdf
10.00金币
0下载
二年级数学下册解决问题专项训练二年级数学下册解决问题专项训练#专项训练#解决问题#二年级#二年级数学下册#知识分享.pdf
10.00金币
1下载
二年级数学下册还原问题二年级数学下册还原问题#二年级#二年级数学#关注我持续更新小学知识 #知识分享 #家长收藏孩子受益.pdf
10.00金币
1下载
二年级数学下册第六单元考试卷家长打印出来给孩子测试测试争取拿到高分!#小学二年级试卷分享 #二年级第六单考试数学 #第六单考试#二年级数学下册.pdf
10.00金币
0下载
二年级数学下册必背顺口溜口诀汇总二年级数学下册必背顺口溜口诀汇总#二年级#二年级数学下册 #知识分享 #家长收藏孩子受益 #关注我持续更新小学知识.pdf
10.00金币
0下载
二年级数学下册《重点难点思维题》两大问题解决技巧和方法巧算星期几解决周期问题还原问题强化思维训练老师精心整理家长可以打印出来给孩子练习#家长收藏孩子受益 #学霸秘籍 #思维训练 #二年级 #知识点总结.pdf
10.00金币
0下载
二年级数学下册 必背公式大全寒假提前背一背开学更轻松#二年级 #二年级数学 #二年级数学下册 #寒假充电计划 #公式.pdf
10.00金币
0下载
蜗牛文库+ 关注
实名认证
内容提供者

提供各种专业文档内容

确认删除?
QQ
  • QQ点击这里给我发消息
微信客服
  • 微信客服
回到顶部