电脑桌面
添加蜗牛文库到电脑桌面
安装后可以在桌面快捷访问

23-1公路工程施工管理规定.DOCVIP免费

23-1公路工程施工管理规定.DOC_第1页
23-1公路工程施工管理规定.DOC_第2页
23-1公路工程施工管理规定.DOC_第3页
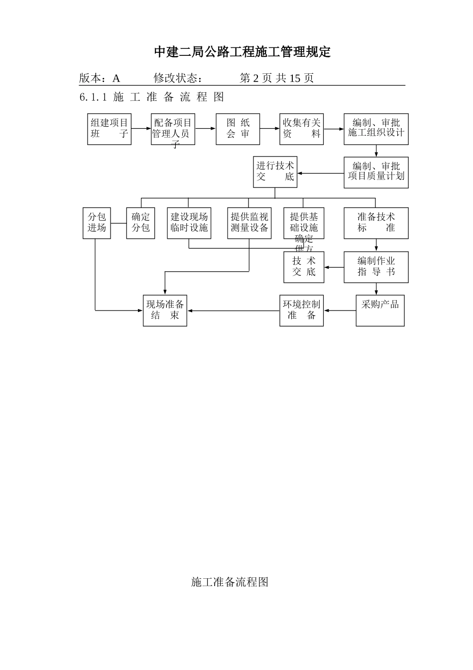
中建二局公路工程施工管理规定编制人:文件编号:SBC.QS.03.07—2000审批人:发文编号:版本:A修改状态:第1页共15页1目的保证在受控状态下进行公路工程施工运作,使其达到顾客规定要求,法律、法规要求。2适用范围适用于局总部承建所有公路工程施工运作过程的控制。3引用文件GB/T19001-2000idtISO9001:2000质量体系要求;SBC.QS.01.00-2000中建二局《质量手册》;JTJ001-97《公路工程技术标准》;JTJ071-98《公路工程质量检验评定标准》。4定义采用上术文件中有关术语的定义及下述定义。4.1关键过程对产品质量、结构、安全、性能、功能、寿命、可靠性及成本等有重要影响的施工过程。4.2特殊过程当生产和服务的提供过程的输出不能通过后续的监视或测量加以验证的过程或在产品使用或服务已交付之后问题才显现的过程。4.3一般过程对产品使用有一般影响的施工过程。5职责5.1局总部有关部门职责见《生产运作程序》5.1。5.2区域公司有关领导及部门职责见《生产运作程序》5.2。5.3项目经理部按顾客要求和有关法律、法规对整个工程的施工全过程进行具体控制:编制和实施年、季、月度施工计划保证合同工期;负责过程控制参数的监控和测量,满足顾客要求;负责竣工资料的收集、编制、整理、传递、归档和分包方施工过程质量和记录的控制及缺陷期修复。项目经理、项目生产副经理、项目技术负责人、部门负责人、施工员等人员的职责见《生产运作程序》5.3。5.4分包方对承担的施工作运作过程进行监控,并对监控质量负责。6工程程序6.1施工准备中建二局公路工程施工管理规定版本:A修改状态:第2页共15页6.1.1施工准备流程图施工准备流程图组建项目班子配备项目管理人员子图纸会审收集有关资料编制、审批施工组织设计进行技术交底编制、审批项目质量计划分包进场确定分包建设现场临时设施提供监视测量设备准备技术标准提供基础设施确定供方技术交底编制作业指导书现场准备结束环境控制准备采购产品中建二局公路工程施工管理规定版本:A修改状态:第3页共15页6.1.2配备人员a)局总部人事部或区域公司人事部门根据合同要求,以招标或调配方式确定项目班子成员并以文件形式聘任项目经理、项目技术负责人、生产副经理、商务副经理等项目班子成员,并经顾客认可;b)区域公司人事部门在征求项目经理意见基础之上,配备或在企业内招聘项目管理人员,招聘外部人员应经上级人事部门同意认可。6.1.3技术准备a)项目技术负责人组织项目经理部有关人员按《图纸会审规定》组织图...

1、当您付费下载文档后,您只拥有了使用权限,并不意味着购买了版权,文档只能用于自身使用,不得用于其他商业用途(如 [转卖]进行直接盈利或[编辑后售卖]进行间接盈利)。
2、本站所有内容均由合作方或网友上传,本站不对文档的完整性、权威性及其观点立场正确性做任何保证或承诺!文档内容仅供研究参考,付费前请自行鉴别。
3、如文档内容存在违规,或者侵犯商业秘密、侵犯著作权等,请点击“违规举报”。

碎片内容

蜗牛文库的最新文档

二年级数学下册其中检测卷二年级数学下册其中检测卷附答案#期中测试卷.pdf
10.00金币
0下载
二年级数学下册期末质检卷(苏教版)二年级数学下册期末质检卷(苏教版)#期末复习 #期末测试卷 #二年级数学 #二年级数学下册#关注我持续更新小学知识.pdf
10.00金币
0下载
二年级数学下册期末混合运算专项练习二年级数学下册期末混合运算专项练习#二年级#二年级数学下册#关注我持续更新小学知识 #知识分享 #家长收藏孩子受益.pdf
10.00金币
1下载
二年级数学下册年月日三类周期问题解题方法二年级数学下册年月日三类周期问题解题方法#二年级#二年级数学下册#知识分享 #关注我持续更新小学知识 #家长收藏孩子受益.pdf
10.00金币
0下载
二年级数学下册解决问题专项训练二年级数学下册解决问题专项训练#专项训练#解决问题#二年级#二年级数学下册#知识分享.pdf
10.00金币
1下载
二年级数学下册还原问题二年级数学下册还原问题#二年级#二年级数学#关注我持续更新小学知识 #知识分享 #家长收藏孩子受益.pdf
10.00金币
1下载
二年级数学下册第六单元考试卷家长打印出来给孩子测试测试争取拿到高分!#小学二年级试卷分享 #二年级第六单考试数学 #第六单考试#二年级数学下册.pdf
10.00金币
0下载
二年级数学下册必背顺口溜口诀汇总二年级数学下册必背顺口溜口诀汇总#二年级#二年级数学下册 #知识分享 #家长收藏孩子受益 #关注我持续更新小学知识.pdf
10.00金币
0下载
二年级数学下册《重点难点思维题》两大问题解决技巧和方法巧算星期几解决周期问题还原问题强化思维训练老师精心整理家长可以打印出来给孩子练习#家长收藏孩子受益 #学霸秘籍 #思维训练 #二年级 #知识点总结.pdf
10.00金币
0下载
二年级数学下册 必背公式大全寒假提前背一背开学更轻松#二年级 #二年级数学 #二年级数学下册 #寒假充电计划 #公式.pdf
10.00金币
0下载
蜗牛文库+ 关注
实名认证
内容提供者

提供各种专业文档内容

确认删除?
QQ
  • QQ点击这里给我发消息
微信客服
  • 微信客服
回到顶部