电脑桌面
添加蜗牛文库到电脑桌面
安装后可以在桌面快捷访问

26 -【案例】-采购管理大全.docxVIP免费

26 -【案例】-采购管理大全.docx_第1页
26 -【案例】-采购管理大全.docx_第2页
26 -【案例】-采购管理大全.docx_第3页
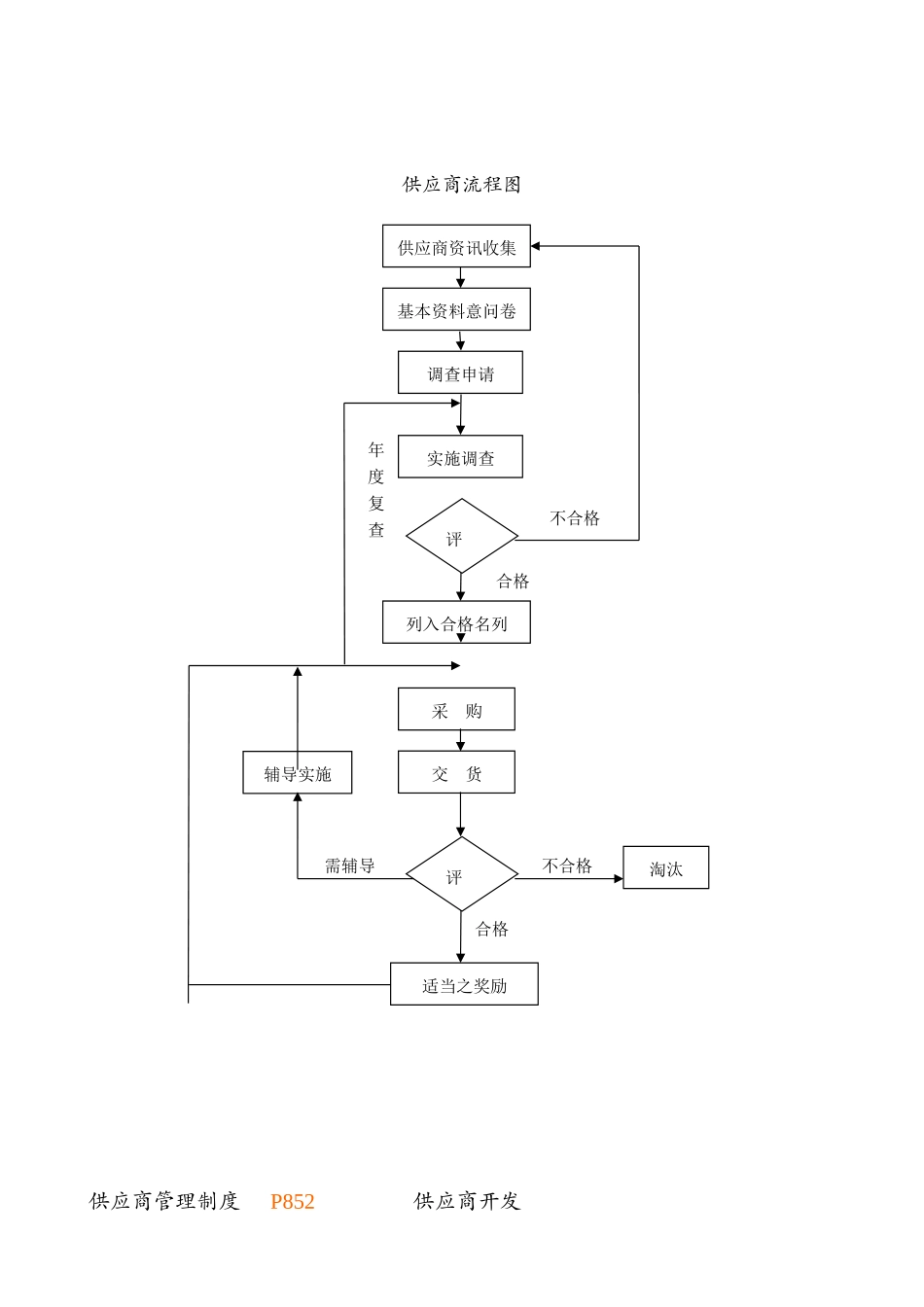
采购管理供应商流程图供应商管理制度P852供应商开发不合格合格不合格需辅导合格年度复查供应商资讯收集采购基本资料意问卷列入合格名列调查申请淘汰辅导实施实施调查适当之奖励评评交货文件编号:GA01版本号:生效日期:共页第页1.总则1.1制定目的为规范供应商开发流程,使之有章可循,特制定本规章。1.2适用范围本公司新厂商之开发工作,除另有规定外,悉依本规章执行。1.3权责单位(1)采购部负责本规章制定、修改、废止之起草工作。(2)总经理负责本规章制定、修改、废止之核准。2.供应商开发程序2.1供应商开发权责(1)采购部负责供应商开发主导工作。(2)开发部负责供应商样品的确认。(3)品管部、生技部、生管部、采购部组成厂商调查小组,负责供应商的调查评核。2.2供应商资讯来源新供应商资讯来源一般有下列方式:(1)各种采购指南。(2)新闻传播媒体,如电视、广播、报纸等。(3)各种产品发表会。(4)各类产品展示(销)会。(5)行业协会。(6)行业或政府之统计调查报告或刊物。(7)同行或供应商介绍。(8)公开征询。(9)供应商主动联络。(10)其他途径。2.3供应商问卷调查2.3.1问卷设计问卷设计由采购部主导,品管、开发等单位协助。设计应注意的事项有:(1)依本公司需要设计内容及格式。(2)应尽可能掌握、了解供应商的资讯。(3)易于填写。(4)通俗易懂。(5)便于整理。2.3.2供应商基本资料表应由厂商填写《供应商基本资料表》。该表包括下列内容:(1)公司名称、地址、电话、传真、E-mail、网址、负责人、联系人。(2)公司概况,如资本额、成立日期、占地面积、营业额、银行讯息。(3)设备状况。(4)人力资源状况。(5)主要产品及原材料。(6)主要客户。(7)其他必要事项。2.3.3供应商问卷调查表供应商问卷调查表,一般包括下列内容:(1)材料零件确认。(2)品质验收与管制。(3)采购合同。(4)请款流程。(5)售后服务。(6)建议事项。2.4供应商开发流程(1)寻找供应商。(2)填写供应商基本资料表。(3)与供应商洽谈。(4)必要时作样品鉴定。(5)供应商问卷调查。(6)提出供应商调查评核之申请。2.5后续工作依《供应商调查》规定,由调查小组对供应商作实际调查评核,以确定其可否列入合格供应商之列。3.附件[附件]GA01-1《供应商基本资料表》[附件]GA01-2《供应商问卷调查表(范例)》供应商基本资料表厂商编号:年月日名称地址法人联系人电话传真E-mail网址公司概况资本额...

1、当您付费下载文档后,您只拥有了使用权限,并不意味着购买了版权,文档只能用于自身使用,不得用于其他商业用途(如 [转卖]进行直接盈利或[编辑后售卖]进行间接盈利)。
2、本站所有内容均由合作方或网友上传,本站不对文档的完整性、权威性及其观点立场正确性做任何保证或承诺!文档内容仅供研究参考,付费前请自行鉴别。
3、如文档内容存在违规,或者侵犯商业秘密、侵犯著作权等,请点击“违规举报”。

碎片内容

蜗牛文库的最新文档

二年级数学下册其中检测卷二年级数学下册其中检测卷附答案#期中测试卷.pdf
10.00金币
0下载
二年级数学下册期末质检卷(苏教版)二年级数学下册期末质检卷(苏教版)#期末复习 #期末测试卷 #二年级数学 #二年级数学下册#关注我持续更新小学知识.pdf
10.00金币
0下载
二年级数学下册期末混合运算专项练习二年级数学下册期末混合运算专项练习#二年级#二年级数学下册#关注我持续更新小学知识 #知识分享 #家长收藏孩子受益.pdf
10.00金币
1下载
二年级数学下册年月日三类周期问题解题方法二年级数学下册年月日三类周期问题解题方法#二年级#二年级数学下册#知识分享 #关注我持续更新小学知识 #家长收藏孩子受益.pdf
10.00金币
0下载
二年级数学下册解决问题专项训练二年级数学下册解决问题专项训练#专项训练#解决问题#二年级#二年级数学下册#知识分享.pdf
10.00金币
1下载
二年级数学下册还原问题二年级数学下册还原问题#二年级#二年级数学#关注我持续更新小学知识 #知识分享 #家长收藏孩子受益.pdf
10.00金币
1下载
二年级数学下册第六单元考试卷家长打印出来给孩子测试测试争取拿到高分!#小学二年级试卷分享 #二年级第六单考试数学 #第六单考试#二年级数学下册.pdf
10.00金币
0下载
二年级数学下册必背顺口溜口诀汇总二年级数学下册必背顺口溜口诀汇总#二年级#二年级数学下册 #知识分享 #家长收藏孩子受益 #关注我持续更新小学知识.pdf
10.00金币
0下载
二年级数学下册《重点难点思维题》两大问题解决技巧和方法巧算星期几解决周期问题还原问题强化思维训练老师精心整理家长可以打印出来给孩子练习#家长收藏孩子受益 #学霸秘籍 #思维训练 #二年级 #知识点总结.pdf
10.00金币
0下载
二年级数学下册 必背公式大全寒假提前背一背开学更轻松#二年级 #二年级数学 #二年级数学下册 #寒假充电计划 #公式.pdf
10.00金币
0下载
蜗牛文库+ 关注
实名认证
内容提供者

提供各种专业文档内容

确认删除?
QQ
  • QQ点击这里给我发消息
微信客服
  • 微信客服
回到顶部