电脑桌面
添加蜗牛文库到电脑桌面
安装后可以在桌面快捷访问

牧场安全工作流程图.docVIP免费

牧场安全工作流程图.doc_第1页
牧场安全工作流程图.doc_第2页
牧场安全工作流程图.doc_第3页
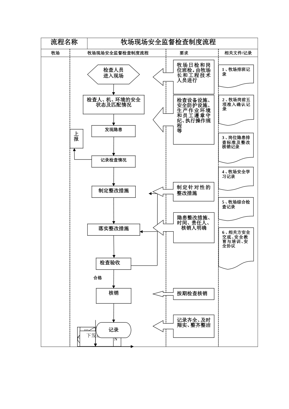
流程名称牧场安全绩效考核制度流程牧场牧场安全绩效考核制度要求相关文件/记录否是现场研究四安全四安全形成纪要、要求及措施结束评估YN下发落实当事人认为与事实相符通知当事人作出记分决定记录实施记分计算累积分上诉发现违规违纪违标现象1、牧场安全绩效考核制度2、《安全记分手册》3、牧场安全检查记录提出记分意见牧场日检,岗位班检遵循实事求是、客观公正、处罚与教育相结合、鼓励自查自纠的原则将事实和情节核实后通知当事人将事实和情节核实后通知当事人当事人有权申辩和申诉两人或两人以上共同违规的,按照所负责任大小,分别给予记分,不因其中一人记分而免除其他人的记分记分周期为每年的1月1日至12月31日记录及时翔实检查人员检查流程名称牧场现场安全监督检查制度流程牧场牧场现场安全监督检查制度流程要求相关文件/记录不合格合格现场研究四安全四安全形成纪要、要求及措施结束评估YN下发落实发现隐患记录检查情况落实整改措施记录核销检查人、机、环境的安全状态及匹配情况上报检查验收1、牧场排班记录2、牧场岗前五项准入确认记录3、岗位隐患排查标准及整改核销记录4、牧场安全学习记录5、牧场综合检查记录6、相关方安全交底、安全教育与培训、安全协议牧场日检和岗位班检。由牧场长和工程技术人员进行检查设备设施、安全防护设施、生产作业环境和员工遵章守纪、执行操作规程等制定针对性的整改措施隐患整改措施、时间、责任人、核销人明确按期检查核销记录齐全、及时翔实、整齐整洁制定整改措施检查人员进入现场流程名称牧场现场安全教育培训制度流程牧场牧场现场安全教育培训制度流程要求相关文件/记录不合格合格四安全形成纪要、要求及措施结束评估YN下发落实考试或检查岗前、转岗安全培训进行安全培训或活动记录考试或检查结果签名确认1、牧场安全教育培训计划2、牧场安全学习记录3、相关方安全交底、安全教育与培训、安全协议4、员工安全学习笔记日常安全培训场长负责人员的安全教育培训工作。制定培训计划岗位操作规程、应急预案和岗位危险危害因素辨识、控制、防范,零伤害和保命条款等知识周安全活动会、班前安全教育、领导讲话、复工后的安全教育、调换工种的岗位安全教育、临时性、季节性的安全教育等内容周安全活动会、班前安全教育、领导讲话、调换工种的岗位安全教育、临时性、季节性的安全教育等内容新入厂员工通过三级安全教育;牧场培训时间不少于16学时,必须本人签名记录齐全、及时翔实、整齐整洁副场长制定教...

1、当您付费下载文档后,您只拥有了使用权限,并不意味着购买了版权,文档只能用于自身使用,不得用于其他商业用途(如 [转卖]进行直接盈利或[编辑后售卖]进行间接盈利)。
2、本站所有内容均由合作方或网友上传,本站不对文档的完整性、权威性及其观点立场正确性做任何保证或承诺!文档内容仅供研究参考,付费前请自行鉴别。
3、如文档内容存在违规,或者侵犯商业秘密、侵犯著作权等,请点击“违规举报”。

碎片内容

蜗牛文库的最新文档

二年级数学下册其中检测卷二年级数学下册其中检测卷附答案#期中测试卷.pdf
10.00金币
0下载
二年级数学下册期末质检卷(苏教版)二年级数学下册期末质检卷(苏教版)#期末复习 #期末测试卷 #二年级数学 #二年级数学下册#关注我持续更新小学知识.pdf
10.00金币
0下载
二年级数学下册期末混合运算专项练习二年级数学下册期末混合运算专项练习#二年级#二年级数学下册#关注我持续更新小学知识 #知识分享 #家长收藏孩子受益.pdf
10.00金币
1下载
二年级数学下册年月日三类周期问题解题方法二年级数学下册年月日三类周期问题解题方法#二年级#二年级数学下册#知识分享 #关注我持续更新小学知识 #家长收藏孩子受益.pdf
10.00金币
0下载
二年级数学下册解决问题专项训练二年级数学下册解决问题专项训练#专项训练#解决问题#二年级#二年级数学下册#知识分享.pdf
10.00金币
1下载
二年级数学下册还原问题二年级数学下册还原问题#二年级#二年级数学#关注我持续更新小学知识 #知识分享 #家长收藏孩子受益.pdf
10.00金币
1下载
二年级数学下册第六单元考试卷家长打印出来给孩子测试测试争取拿到高分!#小学二年级试卷分享 #二年级第六单考试数学 #第六单考试#二年级数学下册.pdf
10.00金币
0下载
二年级数学下册必背顺口溜口诀汇总二年级数学下册必背顺口溜口诀汇总#二年级#二年级数学下册 #知识分享 #家长收藏孩子受益 #关注我持续更新小学知识.pdf
10.00金币
0下载
二年级数学下册《重点难点思维题》两大问题解决技巧和方法巧算星期几解决周期问题还原问题强化思维训练老师精心整理家长可以打印出来给孩子练习#家长收藏孩子受益 #学霸秘籍 #思维训练 #二年级 #知识点总结.pdf
10.00金币
0下载
二年级数学下册 必背公式大全寒假提前背一背开学更轻松#二年级 #二年级数学 #二年级数学下册 #寒假充电计划 #公式.pdf
10.00金币
0下载
蜗牛文库+ 关注
实名认证
内容提供者

提供各种专业文档内容

确认删除?
QQ
  • QQ点击这里给我发消息
微信客服
  • 微信客服
回到顶部