电脑桌面
添加蜗牛文库到电脑桌面
安装后可以在桌面快捷访问

10.建材行业——重庆九鑫集团招聘流程及制度(内附相关表格).docxVIP免费

10.建材行业——重庆九鑫集团招聘流程及制度(内附相关表格).docx_第1页
10.建材行业——重庆九鑫集团招聘流程及制度(内附相关表格).docx_第2页
10.建材行业——重庆九鑫集团招聘流程及制度(内附相关表格).docx_第3页
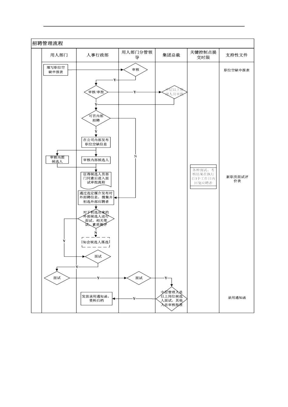
编号:版号:招聘管理流程编制日期审核日期批准日期修订记录日期修订状态修改内容修改人审核人批准人编号:版号:招聘管理流程编制日期审核日期批准日期修订记录日期修订状态修改内容修改人审核人批准人1.目标规范招聘工作流程、提高招聘成效。2.适用范围适用于人力资源管理中的人员招聘过程。3.术语和定义无4.部门职责和涉及岗位4.1流程所有者:人力资源部4.2涉及部门及岗位:人力资源部、各部门、决策层4.3相关部门职责:4.3.1人力资源部:发布职位空缺信息,收集候选人信息,组织候选人面试,组织候选人基本素质和专业素质测评,通知落选候选人,发放录用通知函。职位空缺申报表、候选人档案、面试等资料归档;4.3.2各部门:有需求时提交职位空缺申报表;4.3.3人力资源部负责人:审批职位空缺申报表,面试候选人;4.3.4用人部门负责人或其分管领导(对科级以上人员):审批职位空缺申报表,面试候选人;4.3.5集团总裁:审批职位空缺申报表,面试候选人(中层管理人员以上岗位),审批候选人。注:各项目部副部级以上人员由集团人事部负责招聘;其余人员由项目部自己招聘,集团人事部备案。各子公司的副总经理以上人员由集团人事部负责招聘;其余人员由项目部自己招聘,集团人事部备案。5.工作程序步骤说明负责人输出1.人员招聘的申请与审批1.1用人部门填写职位空缺申报表,经部门分管领导审核通过后,报人力资源部负责人审核/审批;1.2中层以上管理人员报集团总裁审批,审批通过后由人事行政部组织执行招聘注:各项目部副部级以上人员由集团人事部负责招聘;其余人员由项目部自己招聘,集团人事部备案。各子公司的副总经理以上人员由集团人事部负责招聘;其余人员由项目部自己招聘,集团人事部备案。用人部门负责人用人部门分管领导人事行政部负责人集团总裁职位空缺申报表2.发布招聘信息2.1人力资源部根据具体情况确定是否可从内部招聘。如可以在集团内部招聘,则通过内部网、邮件、内部招聘公告等渠道发布招聘信息;如果集团内部出现应征人员,则进行审核并在与应聘者部门负责人沟通同意后方可进入面试审批流程(参见4.测评与面试);2.2当不考虑内部招聘或内部招聘信息发出一周内招聘不到合适人员,人力资源部将开展对外招聘,形式包括:网上/报纸媒体上刊登招聘广告、参加现场招聘会、聘请猎头公司、鼓励内部职员推荐、主动联络外部合适人选开展招聘等人力资源部3.求职资料筛选3.1人力资源部根据岗位要求对求职资料进行分检和初步筛选,并将...

1、当您付费下载文档后,您只拥有了使用权限,并不意味着购买了版权,文档只能用于自身使用,不得用于其他商业用途(如 [转卖]进行直接盈利或[编辑后售卖]进行间接盈利)。
2、本站所有内容均由合作方或网友上传,本站不对文档的完整性、权威性及其观点立场正确性做任何保证或承诺!文档内容仅供研究参考,付费前请自行鉴别。
3、如文档内容存在违规,或者侵犯商业秘密、侵犯著作权等,请点击“违规举报”。

碎片内容

蜗牛文库的最新文档

二年级数学下册其中检测卷二年级数学下册其中检测卷附答案#期中测试卷.pdf
10.00金币
0下载
二年级数学下册期末质检卷(苏教版)二年级数学下册期末质检卷(苏教版)#期末复习 #期末测试卷 #二年级数学 #二年级数学下册#关注我持续更新小学知识.pdf
10.00金币
0下载
二年级数学下册期末混合运算专项练习二年级数学下册期末混合运算专项练习#二年级#二年级数学下册#关注我持续更新小学知识 #知识分享 #家长收藏孩子受益.pdf
10.00金币
1下载
二年级数学下册年月日三类周期问题解题方法二年级数学下册年月日三类周期问题解题方法#二年级#二年级数学下册#知识分享 #关注我持续更新小学知识 #家长收藏孩子受益.pdf
10.00金币
0下载
二年级数学下册解决问题专项训练二年级数学下册解决问题专项训练#专项训练#解决问题#二年级#二年级数学下册#知识分享.pdf
10.00金币
1下载
二年级数学下册还原问题二年级数学下册还原问题#二年级#二年级数学#关注我持续更新小学知识 #知识分享 #家长收藏孩子受益.pdf
10.00金币
1下载
二年级数学下册第六单元考试卷家长打印出来给孩子测试测试争取拿到高分!#小学二年级试卷分享 #二年级第六单考试数学 #第六单考试#二年级数学下册.pdf
10.00金币
0下载
二年级数学下册必背顺口溜口诀汇总二年级数学下册必背顺口溜口诀汇总#二年级#二年级数学下册 #知识分享 #家长收藏孩子受益 #关注我持续更新小学知识.pdf
10.00金币
0下载
二年级数学下册《重点难点思维题》两大问题解决技巧和方法巧算星期几解决周期问题还原问题强化思维训练老师精心整理家长可以打印出来给孩子练习#家长收藏孩子受益 #学霸秘籍 #思维训练 #二年级 #知识点总结.pdf
10.00金币
0下载
二年级数学下册 必背公式大全寒假提前背一背开学更轻松#二年级 #二年级数学 #二年级数学下册 #寒假充电计划 #公式.pdf
10.00金币
0下载
蜗牛文库+ 关注
实名认证
内容提供者

提供各种专业文档内容

确认删除?
QQ
  • QQ点击这里给我发消息
微信客服
  • 微信客服
回到顶部