电脑桌面
添加蜗牛文库到电脑桌面
安装后可以在桌面快捷访问

02-【管理流程】-02-人力资源管理流程.docVIP免费

02-【管理流程】-02-人力资源管理流程.doc_第1页
02-【管理流程】-02-人力资源管理流程.doc_第2页
02-【管理流程】-02-人力资源管理流程.doc_第3页
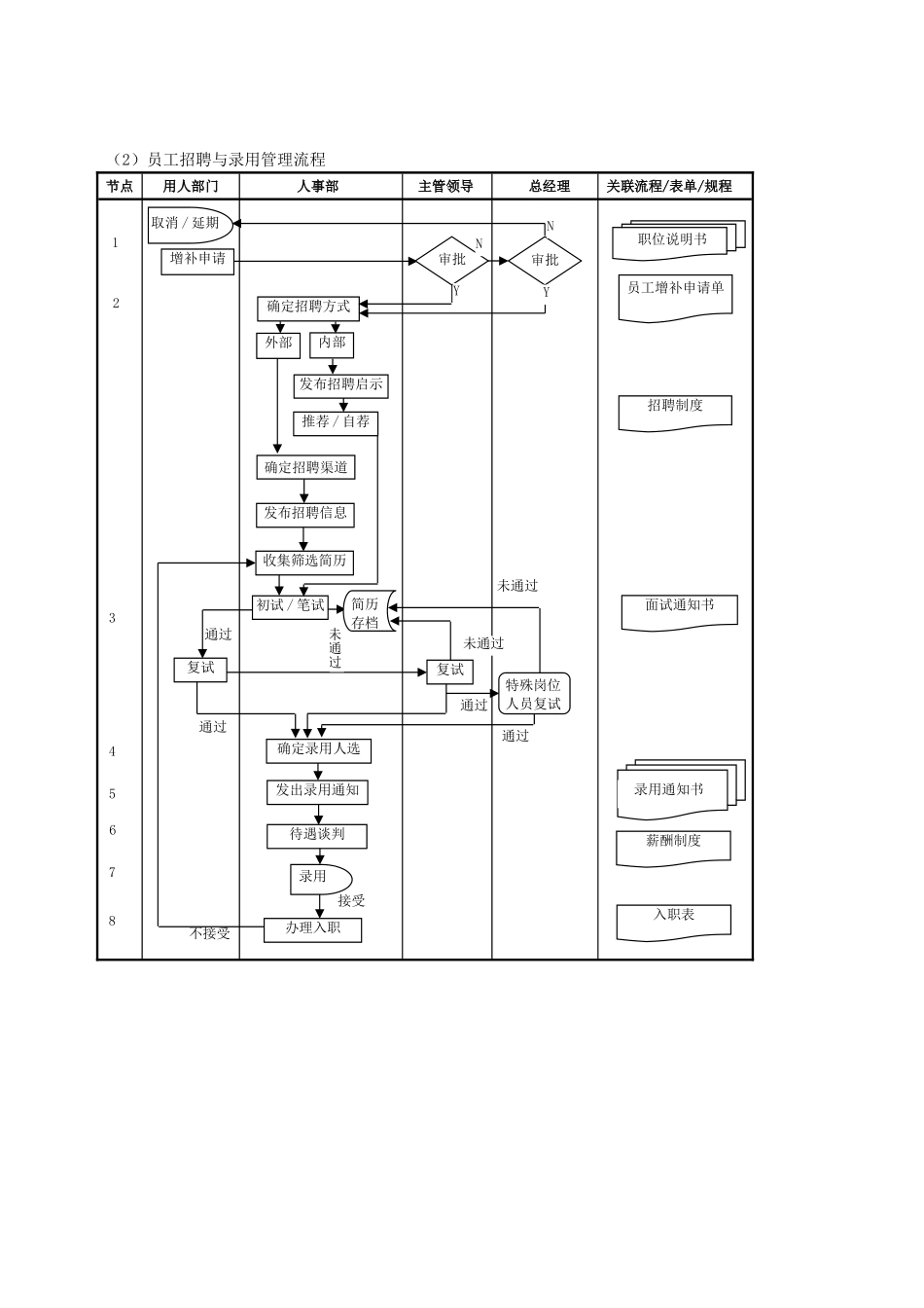
企业管理流程1.人事管理流程如果将企业比作一辆汽车,那么人事管理就是发动机。发动机的力量决定了汽车奔跑的速度,人事管理则决定了企业的发展。高效的人事管理可以增强企业市场竞争力,增强企业凝聚力和活力,速进企业平稳发展。一般来说,现代企业人事管理工作的主要内容有人力资源规划、员工招聘与任用、员工培训、薪酬福利、绩效考核与奖惩、考勤与休假、人事档案、劳动合同管理等多方面。每一方面内容,企业都应建立相应的流程,将人事工作中一些常规的程序流程化、标准化,确保各项人事工作执行到位,保证企业各项工作能够顺利执行。下面,是某企业人事管理流程图,仅供参考。(1)人事管理总流程图企业发展战略部门职责组织结构设置工作分析定岗定编年度编制计划组织结构图岗位说明书考核评估离职入职试用转正档案考勤奖惩劳动合同休假薪酬福利人才储备岗位调整培训职业生涯绩效管理薪酬福利培训发展员工关系……招聘(2)员工招聘与录用管理流程节点用人部门人事部主管领导总经理关联流程/表单/规程1职位说明书薪酬制度入职表录用通知书招聘制度员工增补申请单面试通知书确定录用人选待遇谈判发出录用通知办理入职录用确定招聘渠道发布招聘信息收集筛选简历初试/笔试复试简历存档特殊岗位人员复试复试取消/延期推荐/自荐增补申请审批审批发布招聘启示确定招聘方式外部内部接受NNYY不接受通过通过通过未通过未通过通过未通过12345678员工招聘与录用管理流程说明(3)员工培训管理流程节员工相关人事部主管领导关联流程/规章/表单流程节点责任人工作说明1增补申请用人部门当某部门因调动、流失等原因出现职位空缺时,用人部门领导首先要判断是否影响部门工作,如果需要及时增补员工,则需提出增补申请,填写员工增补申请表,提交上级领导审核审批主管领导审核用人部门提出的用人申请,同意实施招聘;不同意则需报告总经理审核审批总经理审核分管领导提交的用人申请,同意则实施招聘程序,不同意则退回用人部门,取消或延期招聘2招聘人事部1.人事部根据上级领导的意见以及用人部门所需岗位的岗位说明书,确定招聘方式,一般包括内部招聘和外部招聘2.如确定为内部招聘则对内发布招聘启事,内部员工通过推荐或自荐的方式应聘,参加面试/笔试3.如决定为外部招聘,首先确定招聘渠道(校园招聘、招聘会、媒体招聘等),之后发布招聘信息,收集筛选应聘简历,确定面试/笔试的应聘人员3面试/笔试/复试人事部不论是内聘还是外聘,人事部都需进行初选,...

1、当您付费下载文档后,您只拥有了使用权限,并不意味着购买了版权,文档只能用于自身使用,不得用于其他商业用途(如 [转卖]进行直接盈利或[编辑后售卖]进行间接盈利)。
2、本站所有内容均由合作方或网友上传,本站不对文档的完整性、权威性及其观点立场正确性做任何保证或承诺!文档内容仅供研究参考,付费前请自行鉴别。
3、如文档内容存在违规,或者侵犯商业秘密、侵犯著作权等,请点击“违规举报”。

碎片内容

蜗牛文库的最新文档

二年级数学下册其中检测卷二年级数学下册其中检测卷附答案#期中测试卷.pdf
10.00金币
0下载
二年级数学下册期末质检卷(苏教版)二年级数学下册期末质检卷(苏教版)#期末复习 #期末测试卷 #二年级数学 #二年级数学下册#关注我持续更新小学知识.pdf
10.00金币
0下载
二年级数学下册期末混合运算专项练习二年级数学下册期末混合运算专项练习#二年级#二年级数学下册#关注我持续更新小学知识 #知识分享 #家长收藏孩子受益.pdf
10.00金币
1下载
二年级数学下册年月日三类周期问题解题方法二年级数学下册年月日三类周期问题解题方法#二年级#二年级数学下册#知识分享 #关注我持续更新小学知识 #家长收藏孩子受益.pdf
10.00金币
0下载
二年级数学下册解决问题专项训练二年级数学下册解决问题专项训练#专项训练#解决问题#二年级#二年级数学下册#知识分享.pdf
10.00金币
1下载
二年级数学下册还原问题二年级数学下册还原问题#二年级#二年级数学#关注我持续更新小学知识 #知识分享 #家长收藏孩子受益.pdf
10.00金币
1下载
二年级数学下册第六单元考试卷家长打印出来给孩子测试测试争取拿到高分!#小学二年级试卷分享 #二年级第六单考试数学 #第六单考试#二年级数学下册.pdf
10.00金币
0下载
二年级数学下册必背顺口溜口诀汇总二年级数学下册必背顺口溜口诀汇总#二年级#二年级数学下册 #知识分享 #家长收藏孩子受益 #关注我持续更新小学知识.pdf
10.00金币
0下载
二年级数学下册《重点难点思维题》两大问题解决技巧和方法巧算星期几解决周期问题还原问题强化思维训练老师精心整理家长可以打印出来给孩子练习#家长收藏孩子受益 #学霸秘籍 #思维训练 #二年级 #知识点总结.pdf
10.00金币
0下载
二年级数学下册 必背公式大全寒假提前背一背开学更轻松#二年级 #二年级数学 #二年级数学下册 #寒假充电计划 #公式.pdf
10.00金币
0下载
蜗牛文库+ 关注
实名认证
内容提供者

提供各种专业文档内容

确认删除?
QQ
  • QQ点击这里给我发消息
微信客服
  • 微信客服
回到顶部