电脑桌面
添加蜗牛文库到电脑桌面
安装后可以在桌面快捷访问

[www.staffempire.com]-JB7747-95-T针形截止阀.pdfVIP免费

[www.staffempire.com]-JB7747-95-T针形截止阀.pdf_第1页
[www.staffempire.com]-JB7747-95-T针形截止阀.pdf_第2页
[www.staffempire.com]-JB7747-95-T针形截止阀.pdf_第3页
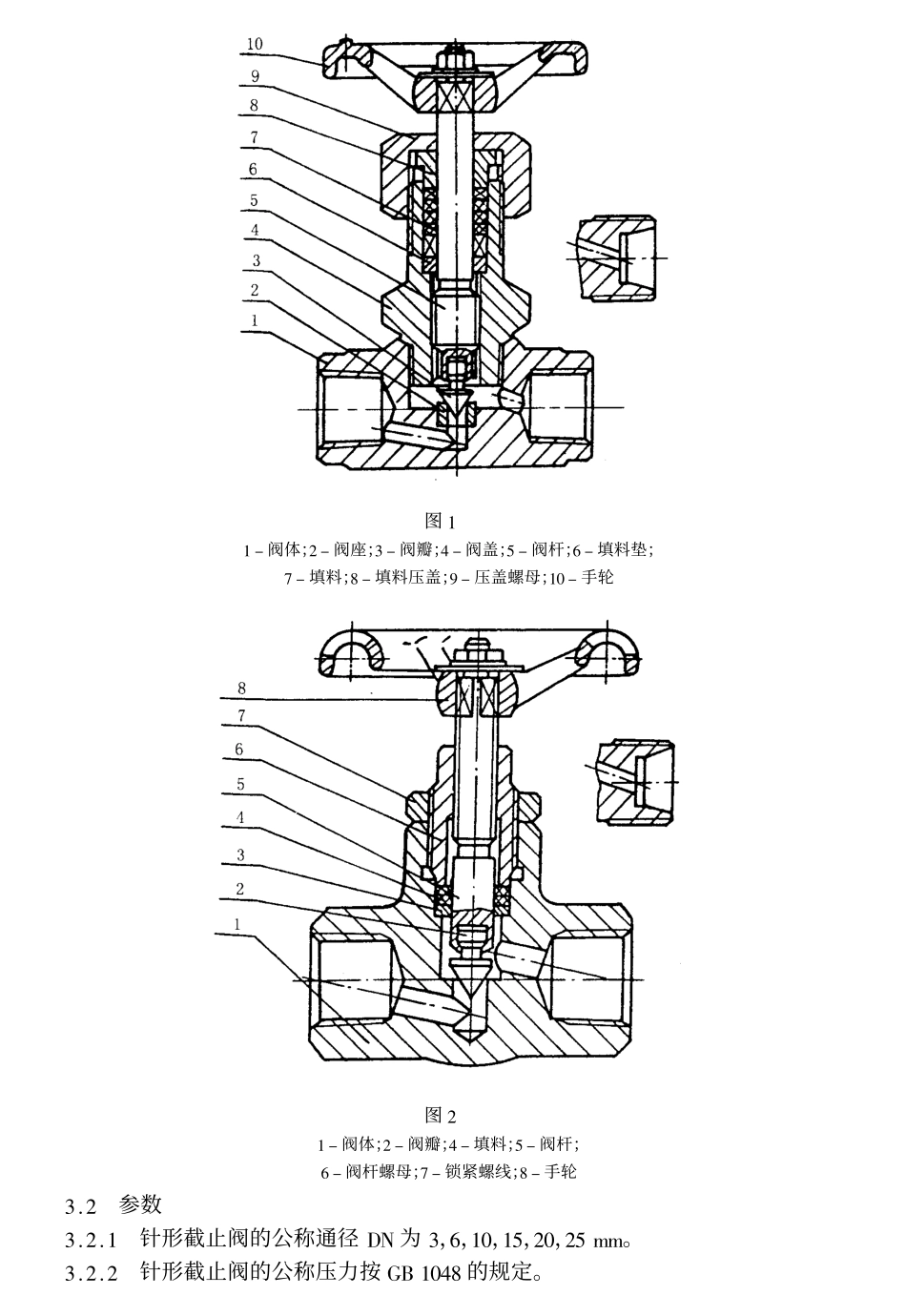
中华人民共和国机械工业部!""#$%&$’%批准!""&$%$%!实施中华人民共和国机械行业标准针形截止阀!"#$(()(—"#!主题内容与适用范围本标准规定了针形截止阀的结构型式、参数、技术要求、试验方法、检验规则、标志、包装、运输及贮存。本标准适用于公称压力*+!,’-%.*/,公称通径0+,1’#22的针形截止阀。其他参数的针形截止阀可参照执行。’引用标准34!"&普通螺纹基本尺寸(直径!1&%%22)34!"(普通螺纹公差与配合(直径!1,##22)34&""优质碳素结构钢技术条件34!%)5管道元件公称压力34’%不锈钢棒34!’’!耐热钢棒34(,%&用螺纹密封的管螺纹34(,%(非螺纹密封的管螺纹34"!,!钢制管法兰压力$温度等级34!’’’%通用阀门标志34!’’’)钢制阀门一般要求34!’’’5通用阀门碳素钢锻件技术条件3467!’’#’通用阀门供货要求8467!(#!阀门结构要素承插焊连接和配管端部尺寸8467#,%%通用阀门材料8467(()5阀门清洁度和测定方法948!&%%&阀门的试验与检验,结构型式及参数,-!结构型式针形截止阀主要结构型式如图!、图’和图,所示。··第三篇阀门产品标准图!!"阀体;#"阀座;$"阀瓣;%"阀盖;&"阀杆;’"填料垫;("填料;)"填料压盖;*"压盖螺母;!+"手轮图#!"阀体;#"阀瓣;%"填料;&"阀杆;’"阀杆螺母;("锁紧螺线;)"手轮$,#参数$,#,!针形截止阀的公称通径-.为$,’,!+,!&,#+,#&//。$,#,#针形截止阀的公称压力按01!+%)的规定。··阀门国内外最新标准及其工程应用技术全书图!"#阀体;$#阀瓣;!#阀盖;%#阀杆;&#填料垫;’#填料;(#填料压盖;)#压盖螺母;*#手轮%技术要求%+"压力#温度等级计形截止阀的压力#温度等级按,-*"!"的规定。对于,-*"!"中未规定压力#温度等级的材料,按有关标准或设计的规定。%+$阀体连接端%+$+"阀体连接端的形式有:两端内螺纹、两端外螺纹、一端外螺纹另一端内螺纹、两端承插焊等。%$+$内螺纹连接应采用圆锥管螺纹,圆锥管螺纹应符合,-(!.’的规定。螺纹尺寸与公称通径/0的对应关系按表"的规定。表"公称通径/0,11!’"."&$.$&螺纹尺寸23"4)23"4%23!4)2354$23!4%23"%+$+!外螺纹连接采用管螺纹或普通螺纹,采用管螺纹时应符合,-(!.(的规定;采用普通螺纹时应符合,-"*’、,-"*(的规定。··第三篇阀门产品标准外螺纹连接采用普通螺纹时,连接端应带有接头、接头螺母和接头垫等零件。!"#"!承插焊连接的阀体连接端尺寸按$%&’()*(的规定。对于$%&’()*(未作规定的部分,接订货合同或设计的规定。!"+阀体和阀盖!"+"(阀体和阀盖的最小壁厚按...

1、当您付费下载文档后,您只拥有了使用权限,并不意味着购买了版权,文档只能用于自身使用,不得用于其他商业用途(如 [转卖]进行直接盈利或[编辑后售卖]进行间接盈利)。
2、本站所有内容均由合作方或网友上传,本站不对文档的完整性、权威性及其观点立场正确性做任何保证或承诺!文档内容仅供研究参考,付费前请自行鉴别。
3、如文档内容存在违规,或者侵犯商业秘密、侵犯著作权等,请点击“违规举报”。

碎片内容

蜗牛文库的最新文档

二年级数学下册其中检测卷二年级数学下册其中检测卷附答案#期中测试卷.pdf
10.00金币
0下载
二年级数学下册期末质检卷(苏教版)二年级数学下册期末质检卷(苏教版)#期末复习 #期末测试卷 #二年级数学 #二年级数学下册#关注我持续更新小学知识.pdf
10.00金币
0下载
二年级数学下册期末混合运算专项练习二年级数学下册期末混合运算专项练习#二年级#二年级数学下册#关注我持续更新小学知识 #知识分享 #家长收藏孩子受益.pdf
10.00金币
1下载
二年级数学下册年月日三类周期问题解题方法二年级数学下册年月日三类周期问题解题方法#二年级#二年级数学下册#知识分享 #关注我持续更新小学知识 #家长收藏孩子受益.pdf
10.00金币
0下载
二年级数学下册解决问题专项训练二年级数学下册解决问题专项训练#专项训练#解决问题#二年级#二年级数学下册#知识分享.pdf
10.00金币
1下载
二年级数学下册还原问题二年级数学下册还原问题#二年级#二年级数学#关注我持续更新小学知识 #知识分享 #家长收藏孩子受益.pdf
10.00金币
1下载
二年级数学下册第六单元考试卷家长打印出来给孩子测试测试争取拿到高分!#小学二年级试卷分享 #二年级第六单考试数学 #第六单考试#二年级数学下册.pdf
10.00金币
0下载
二年级数学下册必背顺口溜口诀汇总二年级数学下册必背顺口溜口诀汇总#二年级#二年级数学下册 #知识分享 #家长收藏孩子受益 #关注我持续更新小学知识.pdf
10.00金币
0下载
二年级数学下册《重点难点思维题》两大问题解决技巧和方法巧算星期几解决周期问题还原问题强化思维训练老师精心整理家长可以打印出来给孩子练习#家长收藏孩子受益 #学霸秘籍 #思维训练 #二年级 #知识点总结.pdf
10.00金币
0下载
二年级数学下册 必背公式大全寒假提前背一背开学更轻松#二年级 #二年级数学 #二年级数学下册 #寒假充电计划 #公式.pdf
10.00金币
0下载
蜗牛文库+ 关注
实名认证
内容提供者

提供各种专业文档内容

确认删除?
QQ
  • QQ点击这里给我发消息
微信客服
  • 微信客服
回到顶部