电脑桌面
添加蜗牛文库到电脑桌面
安装后可以在桌面快捷访问

[www.staffempire.com]-JB1693-1991_平形手轮.pdfVIP免费

[www.staffempire.com]-JB1693-1991_平形手轮.pdf_第1页
[www.staffempire.com]-JB1693-1991_平形手轮.pdf_第2页
[www.staffempire.com]-JB1693-1991_平形手轮.pdf_第3页
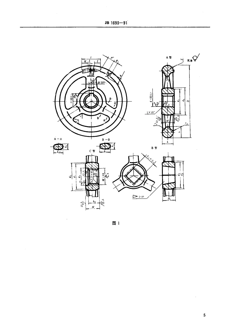
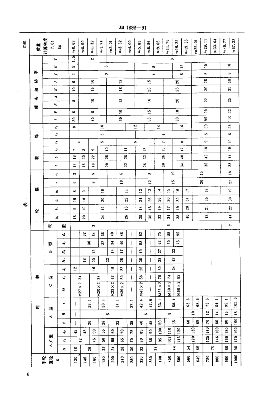
中华人民共和国机械行业标准7B1693-91平形手轮代替JB1693-75主题内容与适用范围本标准规定了平形手轮的结构型式、尺寸和技术要求。本标准适用于通用阀门。引用标准GB1804GB12227公差与配合未注公差尺寸的极限偏差通用阀门球墨铸铁件技术条件型式与尺寸平行手轮分为A,B,C,D四种结构型式.A型,B型和C型的结构型式如图1所示;尺寸按表1的规定.D型结构型式如图2所示;尺寸按表2的规定。,合一‘︺机械电子工业部1991一07-23批准1992-07-01实施IB1693-91孚片护图15JBIB93一91侧。喇钾只.艇娜卜‘下菩;::香霏喜l;睿.口咬、扮目,r,创,刃护,口匀d刃昌.月‘勺舫自‘勺扮,r伏币‘门旅卜.〔、弓口刃卜1‘弓七、峭扮补琴显水堪卜毛自囚.舟一下丁一一‘,口:巴、,户刁...............几口怕、咤口一下犷一,—王一一的一儿一-一一.:尸,,一不犷一-昆七三巴巴分一言一一一飞刃一况一一万一一口二三巴二叻阮.二已日一一一石一-—一石~一一弓勺一一一石一一一-母一一云一一一石一一一断黎,}田_,口厂法一;上兀J一OO「。署~}’1:升』一二,二二一哭户「一一万一一一广一于一一,哥11)-U闷1凸口}分r、戈O加哭妻决器理娜二}二}芯}口止匕刹}“井井三百}】乃月劝弓口户一上一厂-六1一一-一‘)户翻r-es一一-哭荀三望口巴匕丝巴巴民义离况哭奥男哭口,三之口巴公民共哭:}民}}胃}“}“}“}莽}”!娜公卑翻目翻}卜}它}“!;跳霉甲}匡}次路次召(:}男蕊宫}沃}留?}价勺}上}:匡}巴}丸义育之}:}吕}忿乌同厅月{胃李:{比厂—巴哭】}月心率羹翼柔1嚣}1摹攀霎侧之违熟皇匡}霎i夔皇匡广一一】一一】—r一~一r戈:一}舀1剔妥}三姿}姿石}鬓姿}姿姿梁舀自},”二l乃l‘;一一JLes二‘一一口:弓盆-闪月口云《酬,、l门泊公叨.月心二.O月二自只1嗽-分月口O吕言长止抢三断抢笼获三聋断谁一1~_Or,母妾鬓委{二」子去资于去三畏」于音险;轰一到含秦琴}活险断沐易令凳轰秦奏畏异畏异蕊尽簇异墓夏工删.re1693-91D卿---,I:澎上11!丫一卜川州洲1一一K︸K向廿一A下引.土C一图27JB1693-91IB1693-914技术要求}4.1材料为QT400-17,技术要求按GB12227的规定.4.2未注明铸造圆角为RI.5^-5mm,4.3表面应平整、光滑,不应有毛刺和锐被.4.4手轮孔的轴线应垂直于轮毅的加工端面。4.5未注公差尺寸的公差等级按GB1804中规定IT14,4.6本标准中除D,H,S,d,M尺寸外,其余尺寸为参考尺寸。附加说明:本标准由机械电子工业部合肥通用机械研究所提出并归口.本标准由机械电子工业部合肥通用机械研究所和北京阀门研究所负责起草.本标准主要起草人章华友、洪勉成、陆培文、王静忻。

1、当您付费下载文档后,您只拥有了使用权限,并不意味着购买了版权,文档只能用于自身使用,不得用于其他商业用途(如 [转卖]进行直接盈利或[编辑后售卖]进行间接盈利)。
2、本站所有内容均由合作方或网友上传,本站不对文档的完整性、权威性及其观点立场正确性做任何保证或承诺!文档内容仅供研究参考,付费前请自行鉴别。
3、如文档内容存在违规,或者侵犯商业秘密、侵犯著作权等,请点击“违规举报”。

碎片内容

蜗牛文库的最新文档

二年级数学下册其中检测卷二年级数学下册其中检测卷附答案#期中测试卷.pdf
10.00金币
0下载
二年级数学下册期末质检卷(苏教版)二年级数学下册期末质检卷(苏教版)#期末复习 #期末测试卷 #二年级数学 #二年级数学下册#关注我持续更新小学知识.pdf
10.00金币
0下载
二年级数学下册期末混合运算专项练习二年级数学下册期末混合运算专项练习#二年级#二年级数学下册#关注我持续更新小学知识 #知识分享 #家长收藏孩子受益.pdf
10.00金币
1下载
二年级数学下册年月日三类周期问题解题方法二年级数学下册年月日三类周期问题解题方法#二年级#二年级数学下册#知识分享 #关注我持续更新小学知识 #家长收藏孩子受益.pdf
10.00金币
0下载
二年级数学下册解决问题专项训练二年级数学下册解决问题专项训练#专项训练#解决问题#二年级#二年级数学下册#知识分享.pdf
10.00金币
1下载
二年级数学下册还原问题二年级数学下册还原问题#二年级#二年级数学#关注我持续更新小学知识 #知识分享 #家长收藏孩子受益.pdf
10.00金币
1下载
二年级数学下册第六单元考试卷家长打印出来给孩子测试测试争取拿到高分!#小学二年级试卷分享 #二年级第六单考试数学 #第六单考试#二年级数学下册.pdf
10.00金币
0下载
二年级数学下册必背顺口溜口诀汇总二年级数学下册必背顺口溜口诀汇总#二年级#二年级数学下册 #知识分享 #家长收藏孩子受益 #关注我持续更新小学知识.pdf
10.00金币
0下载
二年级数学下册《重点难点思维题》两大问题解决技巧和方法巧算星期几解决周期问题还原问题强化思维训练老师精心整理家长可以打印出来给孩子练习#家长收藏孩子受益 #学霸秘籍 #思维训练 #二年级 #知识点总结.pdf
10.00金币
0下载
二年级数学下册 必背公式大全寒假提前背一背开学更轻松#二年级 #二年级数学 #二年级数学下册 #寒假充电计划 #公式.pdf
10.00金币
0下载
蜗牛文库+ 关注
实名认证
内容提供者

提供各种专业文档内容

确认删除?
QQ
  • QQ点击这里给我发消息
微信客服
  • 微信客服
回到顶部