电脑桌面
添加蜗牛文库到电脑桌面
安装后可以在桌面快捷访问

企业人力资源招聘流程大全.docVIP免费

企业人力资源招聘流程大全.doc_第1页
企业人力资源招聘流程大全.doc_第2页
企业人力资源招聘流程大全.doc_第3页
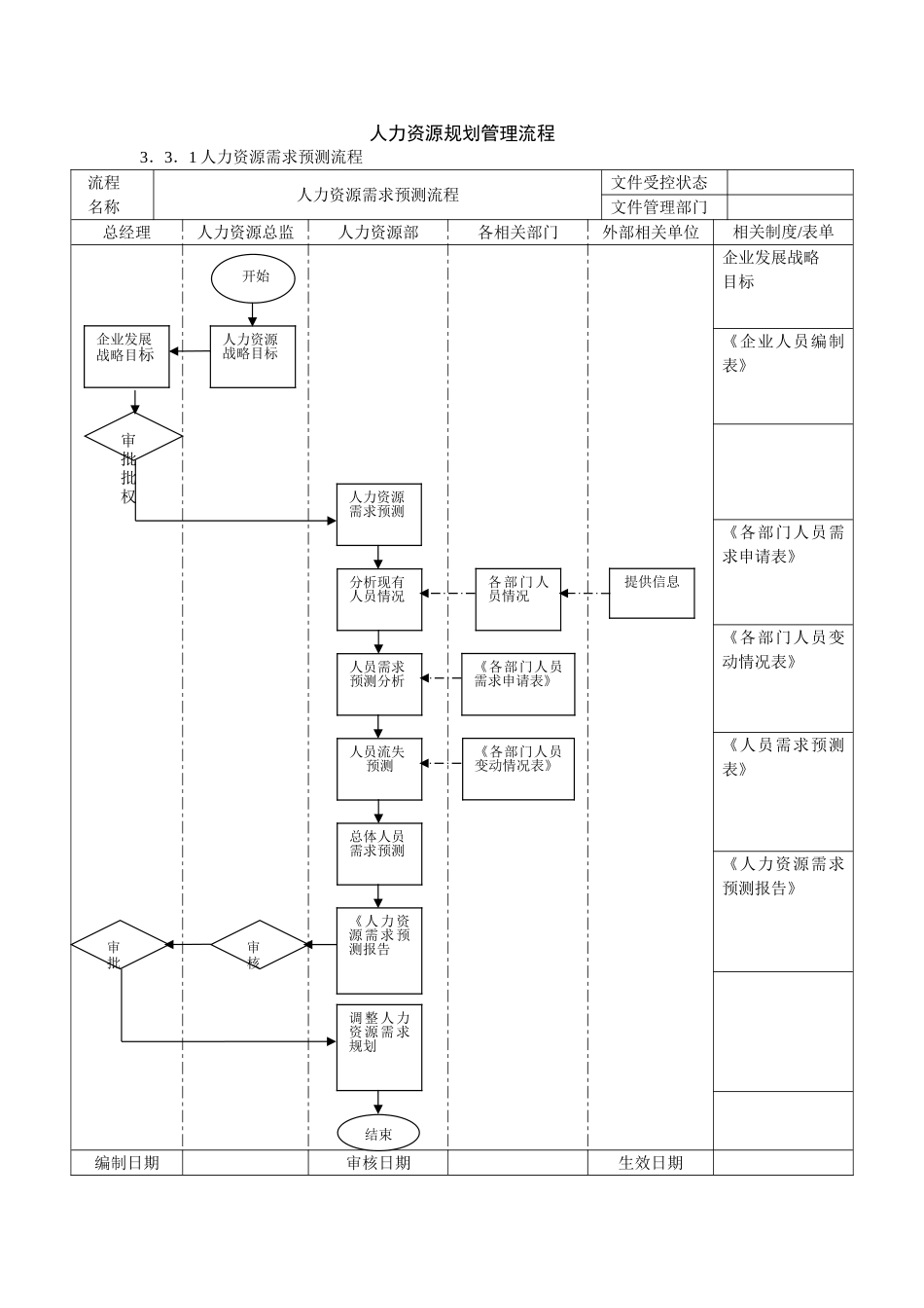
人力资源规划管理流程3.3.1人力资源需求预测流程流程名称人力资源需求预测流程文件受控状态文件管理部门总经理人力资源总监人力资源部各相关部门外部相关单位相关制度/表单企业发展战略目标《企业人员编制表》《各部门人员需求申请表》《各部门人员变动情况表》《人员需求预测表》《人力资源需求预测报告》编制日期审核日期生效日期开始企业发展战略目标人力资源战略目标审批批权人员需求预测分析人员流失预测分析现有人员情况总体人员需求预测人力资源需求预测审批《人力资源需求预测报告调整人力资源需求规划结束审核各部门人员情况《各部门人员需求申请表》《各部门人员变动情况表》提供信息3.3.2人力资源供给预测流程流程名称人力资源供给预测流程文件受控状态文件管理部门总经理人力资源总监人力资源部相关外部机构单位相关制度/表单《人力资源需求预测报告》1.《企业人员编制表》2.《人员离职表》3.《企业人员储备情况表》外部人力资源供给信息1.《外部人员供给预测表》2.《人员需求预测表》1.《人力资源供给预测报告》2.《人员需求预测表》开始《人力资源需求预测报告》审核审批企业现有人力资源状况内部人员流失情况分析内部人员资源供给预测外部人力资源供给调查信息汇总分析研究外部人员供给情况分析信息汇总人力资源供给预测《人力资源供给预测报告》人员供需汇总结束审核审批配合编制日期审核日期生效日期4.1招聘管理工作方案4.1.1招聘工作计划某企业招聘工作计划一、招聘目的为了满足企业发展的需要,及时填补职位空缺,特制订本计划。二、工作目标人员到岗率达到98%以上,部门满意度评价达到95分以上。三、人员需求通过全面调查,确定本次招聘的人数,如表4-1所示。表4-1招聘需求表岗位名称所属部门招聘人数软件工程师开发部2销售代表营销部5行政文员行政部3合计10本次招聘各岗位的录用标准如表4-2所示。表4-2招聘岗位标准一览表岗位名称专业要求学历要求工作经验软件工程师精通JAVA本科以上三年以上软件开发工作经验销售代表不限专科以上两年以上销售工作经验行政文员不限本科以上英语听、说、读、写优秀四、招聘渠道选择本次招聘采取参加人力招聘会与网络招聘相结合的方式进行。五、人员选拔时间安排人员选拔一般经过初试、复试等阶段,其时间安排如表4-3所示。表4-3招聘工作时间表岗位名称考核项目负责人或部门时间安排软件工程师笔试研发部命题小组4月10日初试人力资源部4月17日复试研发部4月19日销售代表初试人力...

1、当您付费下载文档后,您只拥有了使用权限,并不意味着购买了版权,文档只能用于自身使用,不得用于其他商业用途(如 [转卖]进行直接盈利或[编辑后售卖]进行间接盈利)。
2、本站所有内容均由合作方或网友上传,本站不对文档的完整性、权威性及其观点立场正确性做任何保证或承诺!文档内容仅供研究参考,付费前请自行鉴别。
3、如文档内容存在违规,或者侵犯商业秘密、侵犯著作权等,请点击“违规举报”。

碎片内容

蜗牛文库的最新文档

二年级数学下册其中检测卷二年级数学下册其中检测卷附答案#期中测试卷.pdf
10.00金币
0下载
二年级数学下册期末质检卷(苏教版)二年级数学下册期末质检卷(苏教版)#期末复习 #期末测试卷 #二年级数学 #二年级数学下册#关注我持续更新小学知识.pdf
10.00金币
0下载
二年级数学下册期末混合运算专项练习二年级数学下册期末混合运算专项练习#二年级#二年级数学下册#关注我持续更新小学知识 #知识分享 #家长收藏孩子受益.pdf
10.00金币
1下载
二年级数学下册年月日三类周期问题解题方法二年级数学下册年月日三类周期问题解题方法#二年级#二年级数学下册#知识分享 #关注我持续更新小学知识 #家长收藏孩子受益.pdf
10.00金币
0下载
二年级数学下册解决问题专项训练二年级数学下册解决问题专项训练#专项训练#解决问题#二年级#二年级数学下册#知识分享.pdf
10.00金币
1下载
二年级数学下册还原问题二年级数学下册还原问题#二年级#二年级数学#关注我持续更新小学知识 #知识分享 #家长收藏孩子受益.pdf
10.00金币
1下载
二年级数学下册第六单元考试卷家长打印出来给孩子测试测试争取拿到高分!#小学二年级试卷分享 #二年级第六单考试数学 #第六单考试#二年级数学下册.pdf
10.00金币
0下载
二年级数学下册必背顺口溜口诀汇总二年级数学下册必背顺口溜口诀汇总#二年级#二年级数学下册 #知识分享 #家长收藏孩子受益 #关注我持续更新小学知识.pdf
10.00金币
0下载
二年级数学下册《重点难点思维题》两大问题解决技巧和方法巧算星期几解决周期问题还原问题强化思维训练老师精心整理家长可以打印出来给孩子练习#家长收藏孩子受益 #学霸秘籍 #思维训练 #二年级 #知识点总结.pdf
10.00金币
0下载
二年级数学下册 必背公式大全寒假提前背一背开学更轻松#二年级 #二年级数学 #二年级数学下册 #寒假充电计划 #公式.pdf
10.00金币
0下载
蜗牛文库+ 关注
实名认证
内容提供者

提供各种专业文档内容

确认删除?
QQ
  • QQ点击这里给我发消息
微信客服
  • 微信客服
回到顶部