电脑桌面
添加蜗牛文库到电脑桌面
安装后可以在桌面快捷访问

SCT 8115-2000 渔船气胎离合器.pdfVIP免费

SCT 8115-2000 渔船气胎离合器.pdf_第1页
SCT 8115-2000 渔船气胎离合器.pdf_第2页
SCT 8115-2000 渔船气胎离合器.pdf_第3页
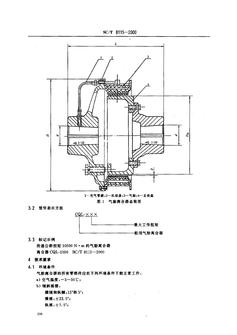
SC/T8115-2000前言气胎离合器在渔船动力装v配套使用中比其他形式的离合器有更好的使用性能。CB/T3860-19994船用气胎离合器》标准所定的产品指标如工作转速、联接形式、外形尺寸及装置重量等均不适用于渔船使用,为此制定适用于渔船使用的渔船气胎离合器标准。本标准在制定中参考了CB/T3860以及《钢质海洋渔船建造规范》(1998)中有关的一些内容。本标准的附录A;附录B都是提示的附录。本标准由全国渔船标准化技术委员会提出。本标准由中国水产科学研究院渔业工程研究所归口。本标准起草单位:中国水产科学研究院渔业工程研究所、舟山兴业有限公司船厂。本标准主要起草人:陶友伟、祝继跃‘29a中华人民共和国水产行业标准渔船气胎离合器FishingvesselpneumaticclutchsC/T8115-20001范圈本标准规定了渔船气胎离合器的产品规格、技术要求、静态试验及甜试装置、运行试验、检查规则、产品供应范围和产品的标志、包装、运翰及贮存。本标准适用于渔船气胎离合器的设计、制造、试验与验收。2引用标准下列标准所包含的条文,通过在本标准中引用而构成为本标准的条文。本标准出版时,所示版本均为有效。所有标准都会被修订,使用本标准的各方应探讨使用下列标准最新版本的可能性。G$/T528-1998硫化橡胶或热塑性像胶拉伸应力应变性能的浏定GB/T531-1992硫化橄胶邵尔A硬度试验方法GS/T5764-1998汽车用离合器面片3产品规格3.飞塑号及主要参数型号及主要参数见表1及图1表1CQL型系列气胎离合器规格型号及主要参数序号名称符号单位硬号CQL1050〔QL900CQL75。一CQL600〔QL400CQL250CQLIOO1公称扭矩}}MN.m10500I}。000750060001}40002500!10002轴人转速段.口‘r/min400毛50{}7501000}15003工作压力}*MPa一}}0.850.850.750.75{0.754接合时间t,s<15<15<15<15蕊15<1s<1s5脱开时间},:S<10<10簇10<10<10成10<106正常工作环境盗度T℃一5^50一5-50-5^50-5^-50一5^50一5~50-5-507康擦材料石梅钥丝堆擦块石楠钥丝卒擦块石棉扭丝雄井块石梅用丝康擦块石抽钥丝康擦块石招姐丝章攘块石娜栩丝爪攘块8扭矩贮备系数}}R22222}一2}2g}何兹{}考【口nl4^64---6{}4-6{}4-63--52~4.2^-今10外鼓轮直径D口目】880812710470{15164仓511一}内鼓轮直径Dmmm一}660}605508一}40535325412}长度Lr.口比630610}}51451444心今4013孔径dmIn}}139.5129.5129.5109.594.5右9.55认514}锥度)};:101-101::。一}1:101.10}1-1011:1015重皿Gkg400}3503152201加}10075中华人民共和团农业部2000一02一22批准2000一04...

1、当您付费下载文档后,您只拥有了使用权限,并不意味着购买了版权,文档只能用于自身使用,不得用于其他商业用途(如 [转卖]进行直接盈利或[编辑后售卖]进行间接盈利)。
2、本站所有内容均由合作方或网友上传,本站不对文档的完整性、权威性及其观点立场正确性做任何保证或承诺!文档内容仅供研究参考,付费前请自行鉴别。
3、如文档内容存在违规,或者侵犯商业秘密、侵犯著作权等,请点击“违规举报”。

碎片内容

蜗牛文库的最新文档

二年级数学下册其中检测卷二年级数学下册其中检测卷附答案#期中测试卷.pdf
10.00金币
0下载
二年级数学下册期末质检卷(苏教版)二年级数学下册期末质检卷(苏教版)#期末复习 #期末测试卷 #二年级数学 #二年级数学下册#关注我持续更新小学知识.pdf
10.00金币
0下载
二年级数学下册期末混合运算专项练习二年级数学下册期末混合运算专项练习#二年级#二年级数学下册#关注我持续更新小学知识 #知识分享 #家长收藏孩子受益.pdf
10.00金币
1下载
二年级数学下册年月日三类周期问题解题方法二年级数学下册年月日三类周期问题解题方法#二年级#二年级数学下册#知识分享 #关注我持续更新小学知识 #家长收藏孩子受益.pdf
10.00金币
0下载
二年级数学下册解决问题专项训练二年级数学下册解决问题专项训练#专项训练#解决问题#二年级#二年级数学下册#知识分享.pdf
10.00金币
1下载
二年级数学下册还原问题二年级数学下册还原问题#二年级#二年级数学#关注我持续更新小学知识 #知识分享 #家长收藏孩子受益.pdf
10.00金币
1下载
二年级数学下册第六单元考试卷家长打印出来给孩子测试测试争取拿到高分!#小学二年级试卷分享 #二年级第六单考试数学 #第六单考试#二年级数学下册.pdf
10.00金币
0下载
二年级数学下册必背顺口溜口诀汇总二年级数学下册必背顺口溜口诀汇总#二年级#二年级数学下册 #知识分享 #家长收藏孩子受益 #关注我持续更新小学知识.pdf
10.00金币
0下载
二年级数学下册《重点难点思维题》两大问题解决技巧和方法巧算星期几解决周期问题还原问题强化思维训练老师精心整理家长可以打印出来给孩子练习#家长收藏孩子受益 #学霸秘籍 #思维训练 #二年级 #知识点总结.pdf
10.00金币
0下载
二年级数学下册 必背公式大全寒假提前背一背开学更轻松#二年级 #二年级数学 #二年级数学下册 #寒假充电计划 #公式.pdf
10.00金币
0下载
蜗牛文库+ 关注
实名认证
内容提供者

提供各种专业文档内容

确认删除?
QQ
  • QQ点击这里给我发消息
微信客服
  • 微信客服
回到顶部