电脑桌面
添加蜗牛文库到电脑桌面
安装后可以在桌面快捷访问

SCT 8004-2000 钢质渔船鱼舱口.pdfVIP免费

SCT 8004-2000 钢质渔船鱼舱口.pdf_第1页
SCT 8004-2000 钢质渔船鱼舱口.pdf_第2页
SCT 8004-2000 钢质渔船鱼舱口.pdf_第3页
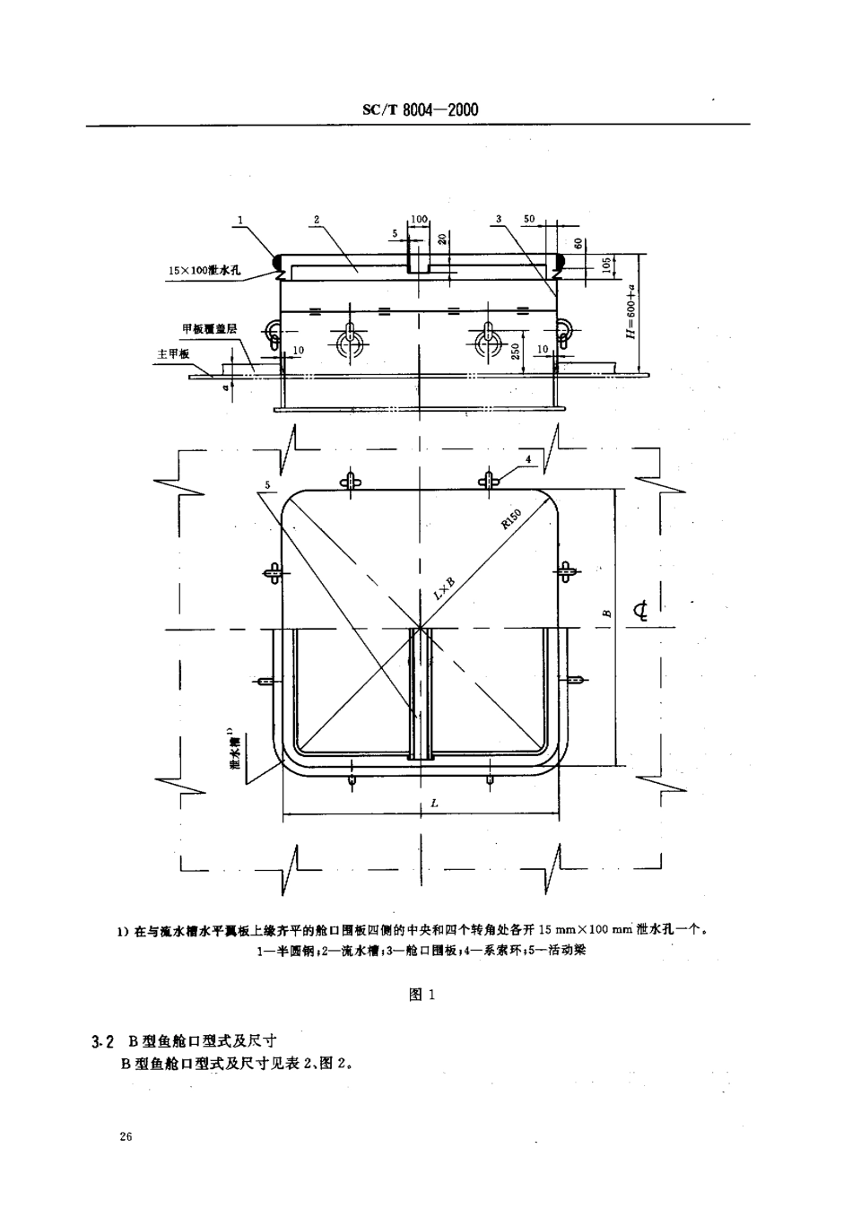
SC/T8004-2000前言本标准根据中华人民共和国渔船检验局《钢质海洋渔船建造规范》(1998)的有关要求对SC/T8004-19861渔船钢质渔舱口》进行修订。本标准修订内容包括:标准名称由旁渔船钢质渔舱口》改为《钢质渔船鱼舱口》;适用范围由船长》24m簇50m变为)24m(90m,肋距由0.55m扩大到0.50二、0.55m,0.60m三种系列,满足建造各种长度渔船的需要;舱口宽度给予固定;舱口型式简单化,方便选用;章节和文字做适当改动。本标准由中国水产科学研究院提出。本标准由中国水产科学研究院归口。本标准起草单位:中国水产科学研究院。本标准主要起草人:魏广东。本标准于1977年制定,标准编号为SC4-1977;1986年第一次修订;1995年调整为SC/T8004-1986,中华人民共和国水产行业标准SC/T8004-2000钢质渔船鱼舱口代替SC/T8004-1986Hatchofsteelfishingvessel,范围本标准规定了钢质渔船鱼舱口的分类、型式、尺寸、技术要求等。本标准适用于船长不小于24m但小于90m,肋距为。.50二、0.55m,0.60m的钢质渔船鱼舱口的设计与施工。对于肋距不等于。.50m,0.55m,0.60m,或要求特殊鱼舱口的渔船,亦可参照本标准的结构型式决定所需舱口的尺寸。2引用标准下列标准所包含的条文,通过在本标准中引用而构成为本标准的条文。本标准出版时,所示版本均为有效。所有标准都会被修订,使用本标准的各方应探讨使用下列标准最新版本的可能性。GB/T700-1988碳素结构钢GB712-1988船体用结构钢3鱼脸口分类鱼舱口分类见表1,型式名钢质钧质表1耸舱口分类称’}’适用范围配用钢质,玻璃钥上盖,配用木质下盖3.1A型鱼舱口结构型式和尺寸A型鱼舱口结构型式和尺寸见表2,图1,表2鱼舱口尺寸舱口型号舱口长度L舱口宽度B舱口高度万舱口国角R肋距围板厚度A1,B116501400600+.150500按0.05X船长+45计算取铸数550A2,B216501500600A3,B316501600中华人民共和国农业部2000一02一22批准2000一4一01实施SC/T8004-2000碑\户:一旦\:理书赵}一曰1)在与旅水摺水平蕊板上缘齐平的舱口围板四侧的中央和四个转角处各开ismmx100mm泄水孔一个。1一半圆钢书2-流水槽,3-舱口围板,4-系索环多5-活动梁图13-2B型鱼舱口型式及尺寸B型鱼舱口型式及尺寸见表2、图2,SC/T8004-2000yo雄丫\匕一I夏Y十一几七-︵1麟书侧00[x娇1一』仁几1)在与流水摘水平具板上缘齐平的舱口围板四侧的中央和四个转角处各开15mmx100mm泄水孔一个。1-舱口围板;2-流水摘0-半团钢.4一系家环;5-活动梁图23.3标记示例舱口尺寸为1650mmX1400mmXH的A1型钢质鱼舱口标...

1、当您付费下载文档后,您只拥有了使用权限,并不意味着购买了版权,文档只能用于自身使用,不得用于其他商业用途(如 [转卖]进行直接盈利或[编辑后售卖]进行间接盈利)。
2、本站所有内容均由合作方或网友上传,本站不对文档的完整性、权威性及其观点立场正确性做任何保证或承诺!文档内容仅供研究参考,付费前请自行鉴别。
3、如文档内容存在违规,或者侵犯商业秘密、侵犯著作权等,请点击“违规举报”。

碎片内容

蜗牛文库的最新文档

二年级数学下册其中检测卷二年级数学下册其中检测卷附答案#期中测试卷.pdf
10.00金币
0下载
二年级数学下册期末质检卷(苏教版)二年级数学下册期末质检卷(苏教版)#期末复习 #期末测试卷 #二年级数学 #二年级数学下册#关注我持续更新小学知识.pdf
10.00金币
0下载
二年级数学下册期末混合运算专项练习二年级数学下册期末混合运算专项练习#二年级#二年级数学下册#关注我持续更新小学知识 #知识分享 #家长收藏孩子受益.pdf
10.00金币
1下载
二年级数学下册年月日三类周期问题解题方法二年级数学下册年月日三类周期问题解题方法#二年级#二年级数学下册#知识分享 #关注我持续更新小学知识 #家长收藏孩子受益.pdf
10.00金币
0下载
二年级数学下册解决问题专项训练二年级数学下册解决问题专项训练#专项训练#解决问题#二年级#二年级数学下册#知识分享.pdf
10.00金币
1下载
二年级数学下册还原问题二年级数学下册还原问题#二年级#二年级数学#关注我持续更新小学知识 #知识分享 #家长收藏孩子受益.pdf
10.00金币
1下载
二年级数学下册第六单元考试卷家长打印出来给孩子测试测试争取拿到高分!#小学二年级试卷分享 #二年级第六单考试数学 #第六单考试#二年级数学下册.pdf
10.00金币
0下载
二年级数学下册必背顺口溜口诀汇总二年级数学下册必背顺口溜口诀汇总#二年级#二年级数学下册 #知识分享 #家长收藏孩子受益 #关注我持续更新小学知识.pdf
10.00金币
0下载
二年级数学下册《重点难点思维题》两大问题解决技巧和方法巧算星期几解决周期问题还原问题强化思维训练老师精心整理家长可以打印出来给孩子练习#家长收藏孩子受益 #学霸秘籍 #思维训练 #二年级 #知识点总结.pdf
10.00金币
0下载
二年级数学下册 必背公式大全寒假提前背一背开学更轻松#二年级 #二年级数学 #二年级数学下册 #寒假充电计划 #公式.pdf
10.00金币
0下载
蜗牛文库+ 关注
实名认证
内容提供者

提供各种专业文档内容

确认删除?
QQ
  • QQ点击这里给我发消息
微信客服
  • 微信客服
回到顶部