电脑桌面
添加蜗牛文库到电脑桌面
安装后可以在桌面快捷访问

GBT 13173.1-1991 洗涤剂样品分样法.pdfVIP免费

GBT 13173.1-1991 洗涤剂样品分样法.pdf_第1页
GBT 13173.1-1991 洗涤剂样品分样法.pdf_第2页
GBT 13173.1-1991 洗涤剂样品分样法.pdf_第3页
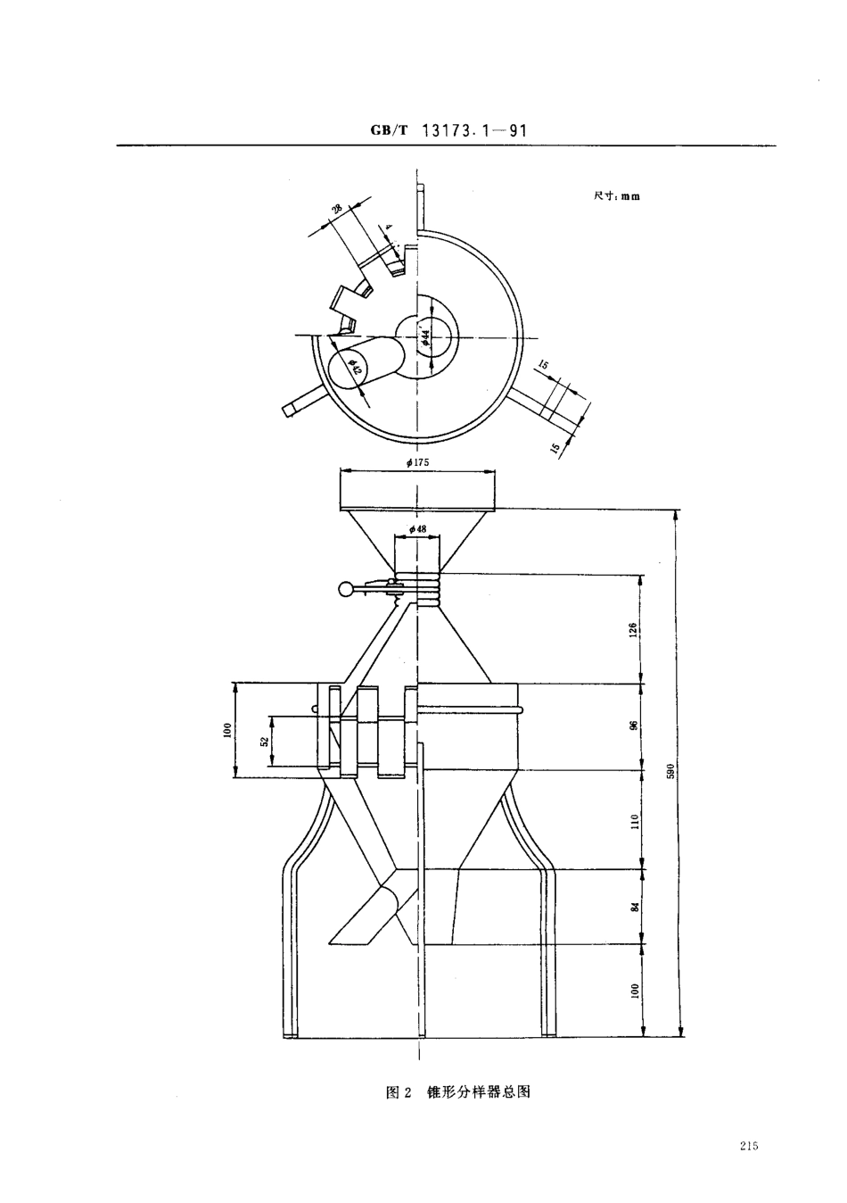
中华人民共和国国家标准洗涤剂样品分样法GB/T13173.1一91Methodsofsam川.divisionfordetergents本标准等效采用国际标准ISO607-1980《表面活性荆和洗涤剂样品分样方法》。在该国际标准中推荐了两种粉体样品分样器(锥型及回转型),本标准仅采用锥型分样器。1主肠内容与适用范困本标准规定了粉状、顺粒状、青状和液体洗涤剂样品的分样方法。本标准适用于粉状、顺粒状、青状和液体洗涤剂、表面活性剂的样品分样。由于以下原因需要对样品进行分样:a.由500g以上的混合大批样品制备250g以上的最终样品或实验室样品;b.由最终样品制备若干份相同的实验室样品或参考样品或保存样品,每份样品质量都在250g以上;c,由实验室样品制备试验样品。2.1术语大批样品:不保持其独特性的汇集批样品。;‘;混合的大批样品:汇集的批样掺合一起得到的均一大批样。分样;在不改变组成的条件下,通过减少样品的t而得到的样品。注:在减少样t的同时,必要时还须减小样品的爪粒.脚为当样品较少而籁粒较大时,不易保持原样的性质2.4最终样品:为了试验、参考或保存的目的,按照能够再分成相同份样的取样方法得到或制备的样品。2.52.6实验室样品:为了送至实验室检验或试验用而制备的样品。参考样品:与实验室样品同时制备,并与之等同的样品.此样可被有关各方接受并保留为在有异议时,用作实验室样品。27保存样品:与实验室样品同时制备,并与之等同的样品。此样将来可被用作实验室样品。2.8试验样品:由实验室样品制得,从中可直接取试验份。3原理用机械方法将大批样品分祥.直到获得小份样品。4程序4.1粉状产品此规定程序适用于粉状产品,包括喷雾干操产品,特别包括在干燥过程后再配入添加剂的产品。注①粉体中含有干操后加入的添加剂时,所得到的物理混合物有分离倾向.②对洗衣粉建议在通风橱内取样,箱要时应带上面革.4.1.1装置国家技术监份局199,一09一10批准1992一08一01实施GB/'r13173.1一91可以用任何符合要求的装置。本标准规定使用锥形分样器u锥形分样器(见图1和图2)具有的构造应该使每次分样操作所得的两份样品在数量上差不多。在J性质上可代表原样。能满足这些条件的锥形分样器(见图1),主要包括一个加料斗(A),锥体(B)和转换料斗(C)。锥体(B)的顶部正好位于加料斗(A)下开口的中心,转换料斗(C)位于锥体(B)的底部。22个受器幻排列在转换料斗w)的周围并交替地连接到转换料斗底部的两个出口。被分样样品经加料斗(A)流过锥体(B)表面,转至转换料斗(C>,被分至22个受器,再交替地...

1、当您付费下载文档后,您只拥有了使用权限,并不意味着购买了版权,文档只能用于自身使用,不得用于其他商业用途(如 [转卖]进行直接盈利或[编辑后售卖]进行间接盈利)。
2、本站所有内容均由合作方或网友上传,本站不对文档的完整性、权威性及其观点立场正确性做任何保证或承诺!文档内容仅供研究参考,付费前请自行鉴别。
3、如文档内容存在违规,或者侵犯商业秘密、侵犯著作权等,请点击“违规举报”。

碎片内容

蜗牛文库的最新文档

二年级数学下册其中检测卷二年级数学下册其中检测卷附答案#期中测试卷.pdf
10.00金币
0下载
二年级数学下册期末质检卷(苏教版)二年级数学下册期末质检卷(苏教版)#期末复习 #期末测试卷 #二年级数学 #二年级数学下册#关注我持续更新小学知识.pdf
10.00金币
0下载
二年级数学下册期末混合运算专项练习二年级数学下册期末混合运算专项练习#二年级#二年级数学下册#关注我持续更新小学知识 #知识分享 #家长收藏孩子受益.pdf
10.00金币
1下载
二年级数学下册年月日三类周期问题解题方法二年级数学下册年月日三类周期问题解题方法#二年级#二年级数学下册#知识分享 #关注我持续更新小学知识 #家长收藏孩子受益.pdf
10.00金币
0下载
二年级数学下册解决问题专项训练二年级数学下册解决问题专项训练#专项训练#解决问题#二年级#二年级数学下册#知识分享.pdf
10.00金币
1下载
二年级数学下册还原问题二年级数学下册还原问题#二年级#二年级数学#关注我持续更新小学知识 #知识分享 #家长收藏孩子受益.pdf
10.00金币
1下载
二年级数学下册第六单元考试卷家长打印出来给孩子测试测试争取拿到高分!#小学二年级试卷分享 #二年级第六单考试数学 #第六单考试#二年级数学下册.pdf
10.00金币
0下载
二年级数学下册必背顺口溜口诀汇总二年级数学下册必背顺口溜口诀汇总#二年级#二年级数学下册 #知识分享 #家长收藏孩子受益 #关注我持续更新小学知识.pdf
10.00金币
0下载
二年级数学下册《重点难点思维题》两大问题解决技巧和方法巧算星期几解决周期问题还原问题强化思维训练老师精心整理家长可以打印出来给孩子练习#家长收藏孩子受益 #学霸秘籍 #思维训练 #二年级 #知识点总结.pdf
10.00金币
0下载
二年级数学下册 必背公式大全寒假提前背一背开学更轻松#二年级 #二年级数学 #二年级数学下册 #寒假充电计划 #公式.pdf
10.00金币
0下载
蜗牛文库+ 关注
实名认证
内容提供者

提供各种专业文档内容

确认删除?
QQ
  • QQ点击这里给我发消息
微信客服
  • 微信客服
回到顶部