电脑桌面
添加蜗牛文库到电脑桌面
安装后可以在桌面快捷访问

基于ANSYS的双柱式汽车举升机设计开题报告.docVIP免费

基于ANSYS的双柱式汽车举升机设计开题报告.doc_第1页
基于ANSYS的双柱式汽车举升机设计开题报告.doc_第2页
基于ANSYS的双柱式汽车举升机设计开题报告.doc_第3页
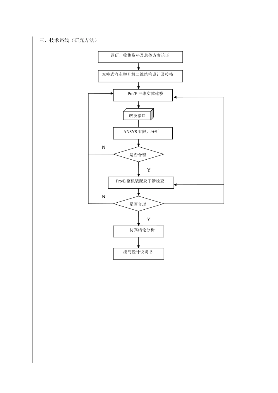
毕业设计(论文)开题报告学生姓名唐勇系部汽车与交通工程学院专业、班级车辆工程B06-7指导教师姓名王强职称讲师从事专业车辆工程是否外聘□是■否题目名称基于ANSYS的双柱式汽车举升机设计一、课题研究现状、选题目的和意义1、研究现状双柱式汽车举升机广泛应用于汽车4S店及维修厂,其重要性和普及性,决定了它是一种备受专业人士和经营管理者重视的设备。目前,发达国家生产的汽车举升机质量较好、性能较稳定、设备操作简单,在经销商中口碑良好。我国的汽车举升机是20世纪90年代依据国外的产品技术生产的,到现在举升机市场已经拥有近百个中外品牌,产品系列成百上千。然而国内汽车举升机虽然也相对定型,但很多产品性能还不够稳定,故障多,可靠性差,外观不够美观,在产品设计、技术开发等方面都还有很多地方有待改进。因此,本课题以计算机仿真软件为平台,应用二维软件AutoCAD、三维软件Pro/E、有限元软件ANSYS,对双柱式汽车举升机结构及强度、刚度、稳定性等方面进行计算机仿真研究与分析,为我国汽车举升机产品的设计、技术开发方面提供更多的理论参考。2、目的和意义需要全套设计请联系QQ1537693694随着汽车工业的迅速发展,汽车修理行业市场需求越来越大,在一些维修厂,常以双柱式汽车举升机作为举升工具。它的作用都是将需要维修的汽车水平提升到合适的高度,以便于维修工人在汽车底盘下方对汽车进行维修,由于维修人员要在汽车的下面工作,因此要求双柱式举升机一定要安全可靠,决不能发生下落的危险。因此,运用AutoCAD、Pro/E、ANSYS软件,对双柱式汽车举升机进行设计及仿真研究将具有重大的意义,可以发现设计中存在的缺陷,并完善设计方案,可缩短开发周期,提高设计质量和效率,为举升机的产品设计制造提供理论参考。SY-025-BY-3二、设计(论文)的基本内容、拟解决的主要问题1、设计主要内容分析双柱式汽车举升机的结构形式及工作原理,进行总体方案设计,并利用AutoCAD软件完成举升机二维总体设计及关键零部件设计及校核计算,建立双柱式举升机Pro/E三维实体模型,并进行虚拟装配及干涉检查,将关键零部件模型通过专用模型数据转换接口导入ANSYS软件进行有限元受力分析,获得双柱式举升机在载荷工况作用下的应力、应变及变形状况。2、拟解决的主要问题(1)总体方案设计、二维结构设计及校核设计;(2)Pro/E完成双柱式汽车举升机三维建模及虚拟装配;(3)ANSYS进行有限元受力分析。三、技术路线(研究方法)调研、收集资料...

1、当您付费下载文档后,您只拥有了使用权限,并不意味着购买了版权,文档只能用于自身使用,不得用于其他商业用途(如 [转卖]进行直接盈利或[编辑后售卖]进行间接盈利)。
2、本站所有内容均由合作方或网友上传,本站不对文档的完整性、权威性及其观点立场正确性做任何保证或承诺!文档内容仅供研究参考,付费前请自行鉴别。
3、如文档内容存在违规,或者侵犯商业秘密、侵犯著作权等,请点击“违规举报”。

碎片内容

蜗牛文库的最新文档

二年级数学下册其中检测卷二年级数学下册其中检测卷附答案#期中测试卷.pdf
10.00金币
0下载
二年级数学下册期末质检卷(苏教版)二年级数学下册期末质检卷(苏教版)#期末复习 #期末测试卷 #二年级数学 #二年级数学下册#关注我持续更新小学知识.pdf
10.00金币
0下载
二年级数学下册期末混合运算专项练习二年级数学下册期末混合运算专项练习#二年级#二年级数学下册#关注我持续更新小学知识 #知识分享 #家长收藏孩子受益.pdf
10.00金币
1下载
二年级数学下册年月日三类周期问题解题方法二年级数学下册年月日三类周期问题解题方法#二年级#二年级数学下册#知识分享 #关注我持续更新小学知识 #家长收藏孩子受益.pdf
10.00金币
0下载
二年级数学下册解决问题专项训练二年级数学下册解决问题专项训练#专项训练#解决问题#二年级#二年级数学下册#知识分享.pdf
10.00金币
1下载
二年级数学下册还原问题二年级数学下册还原问题#二年级#二年级数学#关注我持续更新小学知识 #知识分享 #家长收藏孩子受益.pdf
10.00金币
1下载
二年级数学下册第六单元考试卷家长打印出来给孩子测试测试争取拿到高分!#小学二年级试卷分享 #二年级第六单考试数学 #第六单考试#二年级数学下册.pdf
10.00金币
0下载
二年级数学下册必背顺口溜口诀汇总二年级数学下册必背顺口溜口诀汇总#二年级#二年级数学下册 #知识分享 #家长收藏孩子受益 #关注我持续更新小学知识.pdf
10.00金币
0下载
二年级数学下册《重点难点思维题》两大问题解决技巧和方法巧算星期几解决周期问题还原问题强化思维训练老师精心整理家长可以打印出来给孩子练习#家长收藏孩子受益 #学霸秘籍 #思维训练 #二年级 #知识点总结.pdf
10.00金币
0下载
二年级数学下册 必背公式大全寒假提前背一背开学更轻松#二年级 #二年级数学 #二年级数学下册 #寒假充电计划 #公式.pdf
10.00金币
0下载
蜗牛文库+ 关注
实名认证
内容提供者

提供各种专业文档内容

确认删除?
QQ
  • QQ点击这里给我发消息
微信客服
  • 微信客服
回到顶部