电脑桌面
添加蜗牛文库到电脑桌面
安装后可以在桌面快捷访问

急诊绿色通道PDCA.docVIP免费

急诊绿色通道PDCA.doc_第1页
急诊绿色通道PDCA.doc_第2页
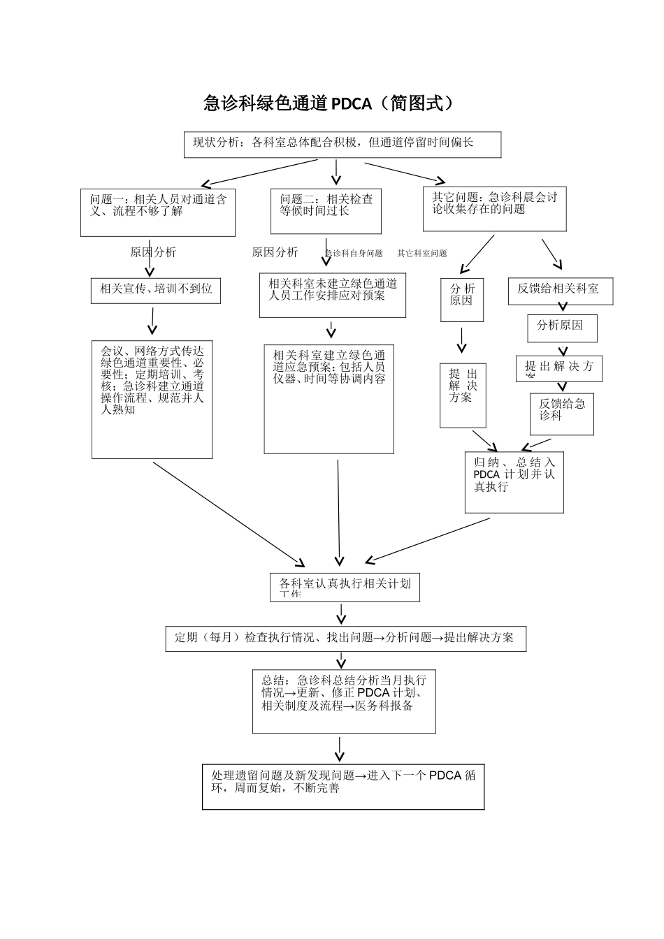
急诊科绿色通道PDCA(简图式)原因分析原因分析急诊科自身问题其它科室问题问题二:相关检查等候时间过长问题一:相关人员对通道含义、流程不够了解其它问题:急诊科晨会讨论收集存在的问题相关宣传、培训不到位相关科室未建立绿色通道人员工作安排应对预案分析原因提出解决方案反馈给相关科室分析原因提出解决方案反馈给急诊科归纳、总结入PDCA计划并认真执行会议、网络方式传达绿色通道重要性、必要性;定期培训、考核;急诊科建立通道操作流程、规范并人人熟知相关科室建立绿色通道应急预案:包括人员仪器、时间等协调内容各科室认真执行相关计划工作定期(每月)检查执行情况、找出问题→分析问题→提出解决方案总结:急诊科总结分析当月执行情况→更新、修正PDCA计划、相关制度及流程→医务科报备现状分析:各科室总体配合积极,但通道停留时间偏长处理遗留问题及新发现问题→进入下一个PDCA循环,周而复始,不断完善急诊科绿色通道流程建议图前提:全员熟知绿色通道流程;值班人员在岗并电话通畅;建立“急诊绿色通道内网通专用群”用于危重患者情况随时更新发布及追踪目标:各科室团结协作、认真协调把各项工作做好!出诊护士病情了解评估→病情解释、初步治疗方案解释→开化验、B超、放射等医嘱→开住院卡→所有医嘱加盖绿色通道专用章→费用押金问题解释检测生命体征并报告记录→开通静脉通道→静脉抽血住院部医师进行住院治疗或手术抢救B超、放射等科室检查,医师陪同出结果后立即截图发至专用群患者(转运途中)出诊医师通知急诊值班护士通知B超、放射科通知相关住院部科室关注绿色通道专用群启动紧急预案、做好协调及病人解释工作血送检验科化验化验结果出后立即截图发送至专用群并抖动通知相关住院部科室查看出诊医生、护士相关手续、记录到达医院前5分钟

1、当您付费下载文档后,您只拥有了使用权限,并不意味着购买了版权,文档只能用于自身使用,不得用于其他商业用途(如 [转卖]进行直接盈利或[编辑后售卖]进行间接盈利)。
2、本站所有内容均由合作方或网友上传,本站不对文档的完整性、权威性及其观点立场正确性做任何保证或承诺!文档内容仅供研究参考,付费前请自行鉴别。
3、如文档内容存在违规,或者侵犯商业秘密、侵犯著作权等,请点击“违规举报”。

碎片内容

蜗牛文库的最新文档

二年级数学下册其中检测卷二年级数学下册其中检测卷附答案#期中测试卷.pdf
10.00金币
0下载
二年级数学下册期末质检卷(苏教版)二年级数学下册期末质检卷(苏教版)#期末复习 #期末测试卷 #二年级数学 #二年级数学下册#关注我持续更新小学知识.pdf
10.00金币
0下载
二年级数学下册期末混合运算专项练习二年级数学下册期末混合运算专项练习#二年级#二年级数学下册#关注我持续更新小学知识 #知识分享 #家长收藏孩子受益.pdf
10.00金币
1下载
二年级数学下册年月日三类周期问题解题方法二年级数学下册年月日三类周期问题解题方法#二年级#二年级数学下册#知识分享 #关注我持续更新小学知识 #家长收藏孩子受益.pdf
10.00金币
0下载
二年级数学下册解决问题专项训练二年级数学下册解决问题专项训练#专项训练#解决问题#二年级#二年级数学下册#知识分享.pdf
10.00金币
1下载
二年级数学下册还原问题二年级数学下册还原问题#二年级#二年级数学#关注我持续更新小学知识 #知识分享 #家长收藏孩子受益.pdf
10.00金币
1下载
二年级数学下册第六单元考试卷家长打印出来给孩子测试测试争取拿到高分!#小学二年级试卷分享 #二年级第六单考试数学 #第六单考试#二年级数学下册.pdf
10.00金币
0下载
二年级数学下册必背顺口溜口诀汇总二年级数学下册必背顺口溜口诀汇总#二年级#二年级数学下册 #知识分享 #家长收藏孩子受益 #关注我持续更新小学知识.pdf
10.00金币
0下载
二年级数学下册《重点难点思维题》两大问题解决技巧和方法巧算星期几解决周期问题还原问题强化思维训练老师精心整理家长可以打印出来给孩子练习#家长收藏孩子受益 #学霸秘籍 #思维训练 #二年级 #知识点总结.pdf
10.00金币
0下载
二年级数学下册 必背公式大全寒假提前背一背开学更轻松#二年级 #二年级数学 #二年级数学下册 #寒假充电计划 #公式.pdf
10.00金币
0下载
蜗牛文库+ 关注
实名认证
内容提供者

提供各种专业文档内容

确认删除?
QQ
  • QQ点击这里给我发消息
微信客服
  • 微信客服
回到顶部